Запчасти Case F3BE0684E B003 (0.36.70[01]) - STARTER (500387607)

Схема запчастей Case F3BE0684E B003 - (0.36.70[01]) - STARTER (500387607)
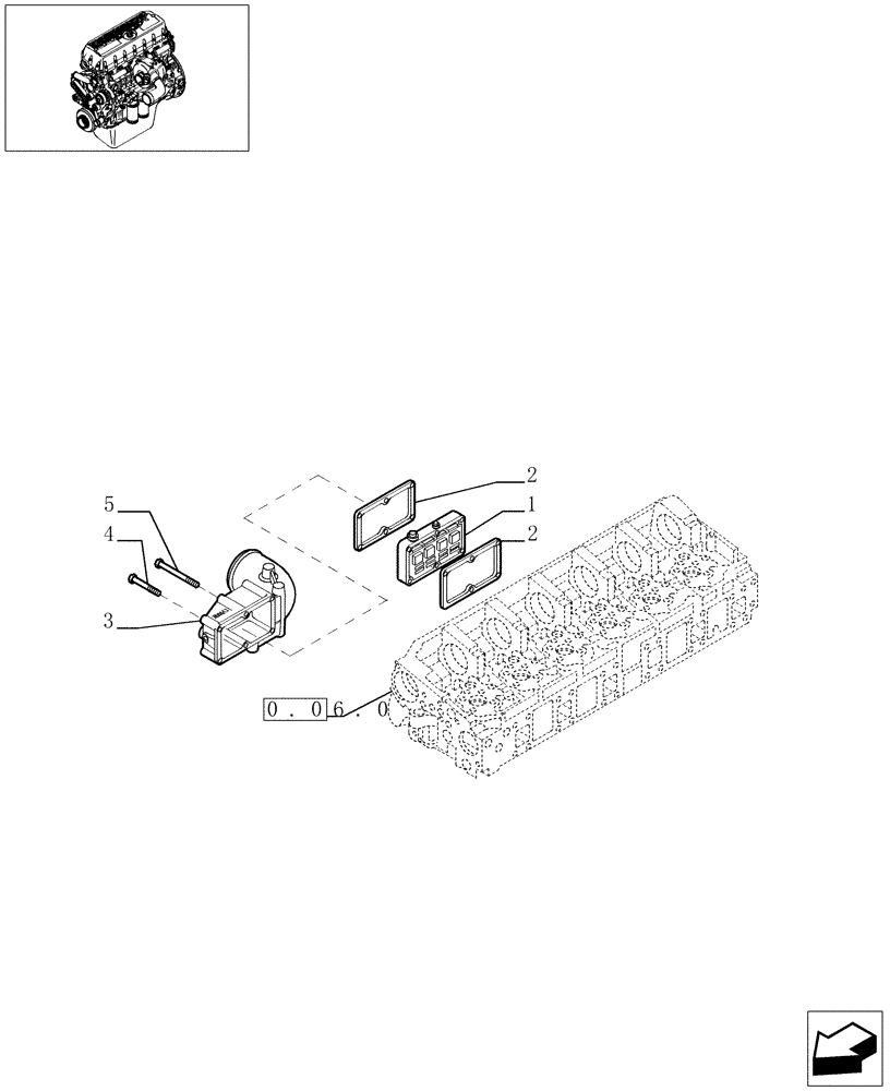
2
5
1
4
2
3
0.06.0
FIT
1:1
100%

Артикул

Название

Примечание

Количество

1

99437042

RESISTOR

1шт.

2

504026624

GASKET

2шт.

3

504005570

INLET MANIFOLD

1шт.

4

16593124

SCREW,M10 x 100mm

M10X100 mm

3шт.

5

16599224

SCREW,M10 x 140mm

M10 x 140

3шт.

Выбрано товаров: 5