Запчасти Case F4HE9684U J104 (10.101.AA) - CYLINDER HEAD (10) - ENGINE

Схема запчастей Case F4HE9684U J104 - (10.101.AA) - CYLINDER HEAD (10) - ENGINE
10.101.am
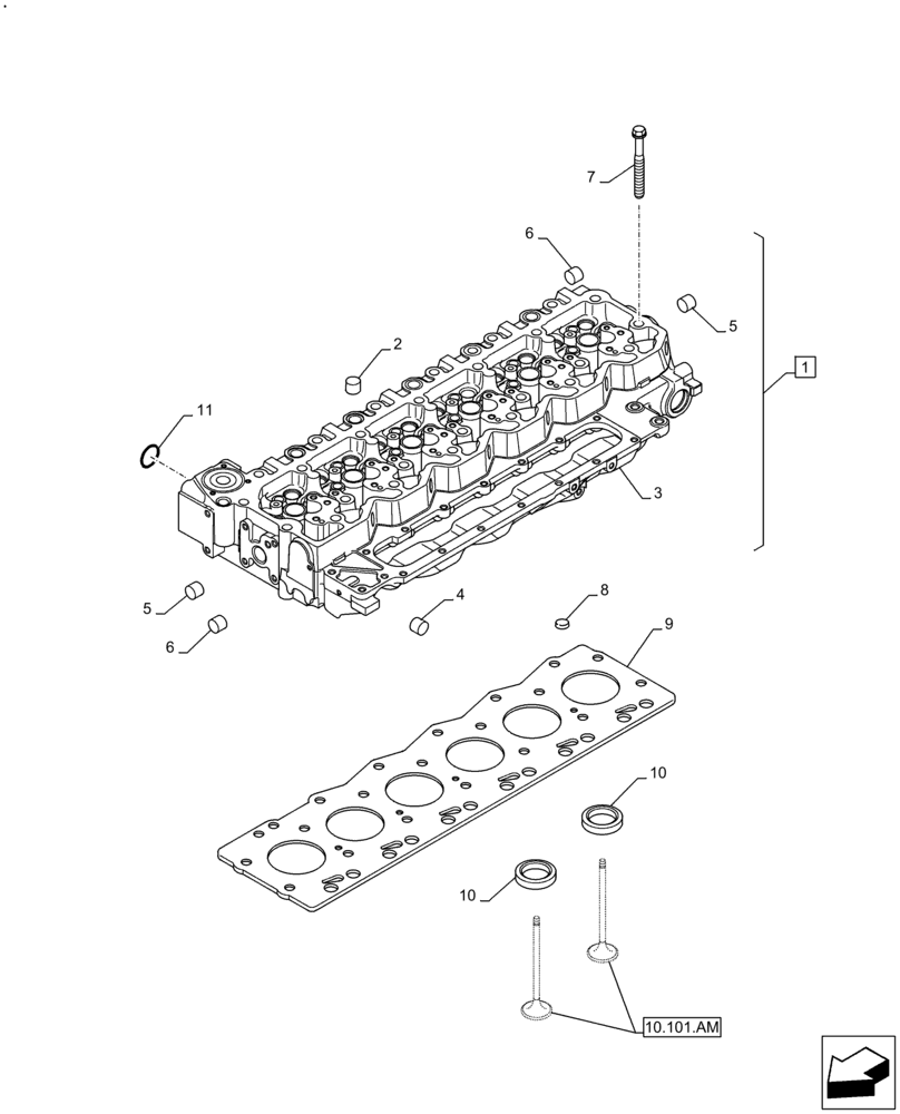
6
8
5
7
11
6
2
4
10
1
5
3
9
10
FIT
1:1
100%

Артикул

Название

Примечание

Количество

1

2831274

CYLINDER HEAD,6 Cylinders

ASSY, Incl 2 - 6

1шт.

2

4895089

PLUG,0.886" L

11шт.

3

2831279

CYLINDER HEAD,6 Cylinders

Incl in 1, Alternative

1шт.

3

2831278

CYLINDER HEAD,6 Cylinders

Incl in 1, Alternative

1шт.

4

4895407

EXPANSION PLUG,38.28mm OD

2шт.

5

4895085

EXPANSION PLUG,25.74mm

13шт.

6

4895406

EXPANSION PLUG,9.8mm OD

7шт.

7

4891024

BOLT,Flng, M12 x 1.75 x 130mm

12шт.

7

4891025

SCREW,Flng, M12 x 1.75 x 150mm

14шт.

8

4893036

PIPE PLUG,3/4"-14 NPTF

Alternative

1шт.

8

2854866

HEX SOCKET PLUG,3/4"-14 NPTF

Alternative

1шт.

9

2830705

CYLINDER HEAD GASKET,1.15mm Thk

Alternative

1шт.

9

2830704

CYLINDER HEAD GASKET,1.25mm Thk

Alternative

1шт.

10

4897578

VALVE SEAT,28mm ID x 34.9mm OD x 5.75mm L

12шт.

10

4897106

VALVE SEAT,28mm ID x 34.9mm OD x 5.75mm L

12шт.

11

2854072

SEALING RING,Square, 5.16mm Thk x 50.17mm ID

1шт.

Выбрано товаров: 16