Запчасти Case F4HFE6131 B003 (10.101.AA) - CYLINDER HEAD (10) - ENGINE

Схема запчастей Case F4HFE6131 B003 - (10.101.AA) - CYLINDER HEAD (10) - ENGINE
5
8
7
9
3
1
4
8
6
2
6
5
10.101.am
10.101.am
10.101.am
FIT
1:1
100%

Артикул

Название

Примечание

Количество

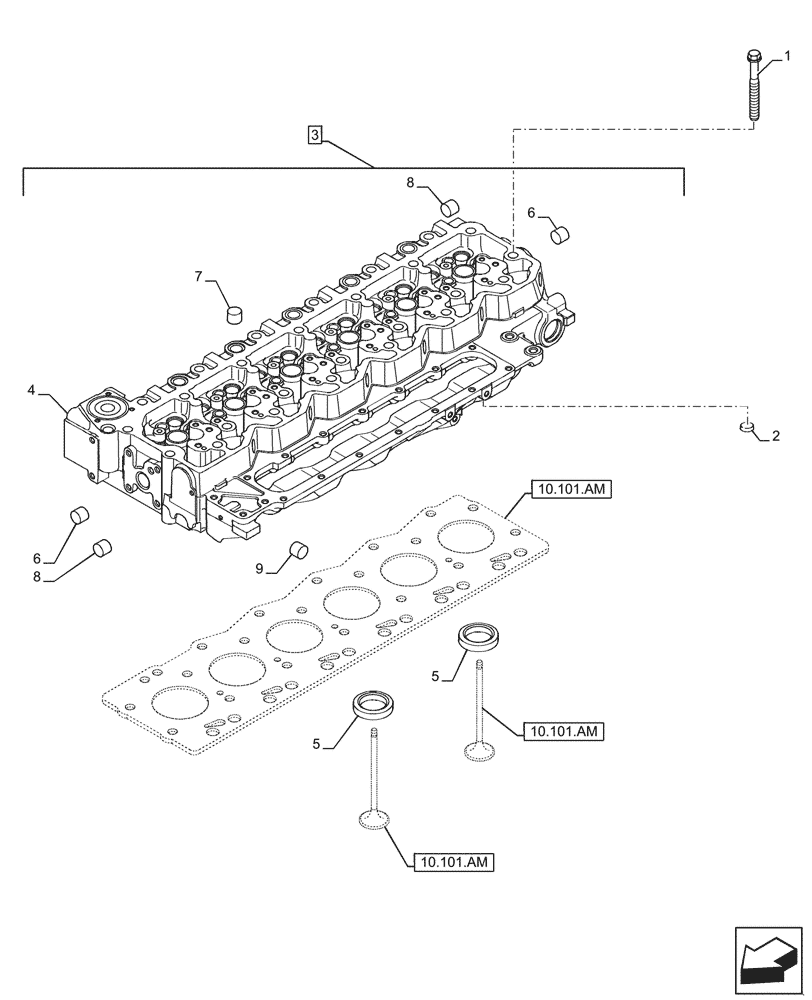
1

4891025

SCREW,Flng, M12 x 1.75 x 150mm

M12 x 150

14шт.

2

4893036

PIPE PLUG,3/4"-14 NPTF

1шт.

3

2831274

CYLINDER HEAD,6 Cylinders

ASSY, Incl 4 - 9

1шт.

3

2831279

CYLINDER HEAD,6 Cylinders

Alternative with 2831278 in plant only

1шт.

4

NSS

NOT SOLD SEPARAT

Cylinder Head, Incl in 3

1шт.

5

4897578

VALVE SEAT,28mm ID x 34.9mm OD x 5.75mm L

Intake

12шт.

5

4897106

VALVE SEAT,28mm ID x 34.9mm OD x 5.75mm L

Exhaust

12шт.

6

4895085

EXPANSION PLUG,25.74mm

OD

13шт.

7

4895089

PLUG,0.886" L

.886" OD

11шт.

8

4895406

EXPANSION PLUG,9.8mm OD

Intake

7шт.

9

4895407

EXPANSION PLUG,38.28mm OD

Exhaust, 38.28mm OD

2шт.

Выбрано товаров: 11