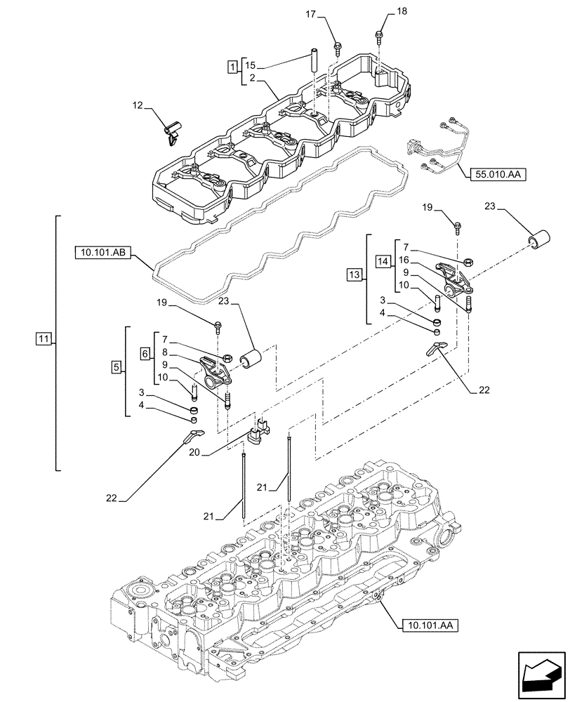
Запчасти Case F4HFE6131 B003 (10.106.AO) - ROCKER ARM (10) - ENGINE

Схема запчастей Case F4HFE6131 B003 - (10.106.AO) - ROCKER ARM (10) - ENGINE
55.010.aa
9
12
3
22
23
20
1
4
6
5
22
14
10
16
4
21
19
2
23
19
9
10
7
8
21
3
11
15
13
17
18
7
10.101.aa
10.101.ab
FIT
1:1
100%

Артикул

Название

Примечание

Количество

1

4899257

HOUSING

ASSY

1шт.

2

NSS

NOT SOLD SEPARAT

Housing, Incl in 1

1шт.

3

2859464

RETAINER,10.79mm ID, 7.63mm ID

2шт.

4

2859465

SOCKET,1.5mm ID x 11mm OD x 9mm L

2шт.

5

2859460

ROCKER ARM

ASSY, Incl 3, 4, 6

1шт.

6

NSS

NOT SOLD SEPARAT

ASSY, Incl 7 - 10

1шт.

7

2859467

NUT,Hex, 3/8" - 24, RH

2шт.

8

NSS

NOT SOLD SEPARAT

Rocker, Incl in 6

1шт.

9

2859468

ADJUSTMENT SCREW,3/8" - 24 x 23.85mm

2шт.

10

2859470

SOCKET

2шт.

11

NS

NOT SERVICED

Rocker Arm, Incl 5, 13, 19, 20, 23

1шт.

12

2852428

WIRE CLAMP,6mm ID

6шт.

13

2859462

ROCKER ARM

ASSY, Incl 3, 4, 14

1шт.

14

NSS

NOT SOLD SEPARAT

ASSY, Incl 7, 9, 10, 16

1шт.

15

4899245

SLEEVE,9mm ID x 13.9mm OD x 55.25mm L

5шт.

16

NSS

NOT SOLD SEPARAT

Rocker, Incl in 14

1шт.

17

4895432

SCREW,M8 x 1.25 x 70mm

M8 x 1,25 x 70

5шт.

18

4899089

SCREW,Hex Flg, M8 x 1.25 x 50

2шт.

19

2856460

BOLT,Flng, M8 x 1.25 x 55.5mm, Cl 10.9

2шт.

20

2859463

SUPPORT

1шт.

21

4895031

PUSH ROD

12шт.

22

47426332

BAR

12шт.

23

NS

NOT SERVICED

Bushing

1шт.

Выбрано товаров: 23