Запчасти Case F4HFE6132 A003 (10.101.AA) - CYLINDER HEAD (10) - ENGINE

Схема запчастей Case F4HFE6132 A003 - (10.101.AA) - CYLINDER HEAD (10) - ENGINE
10.101.am
10
1
2
7
4
9
5
6
3
4
3
7
8
10.101.am
FIT
1:1
100%

Артикул

Название

Примечание

Количество

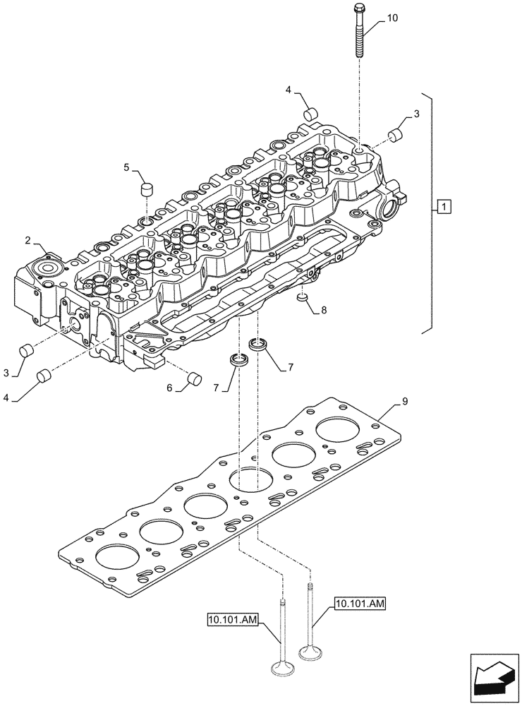
1

2831279

CYLINDER HEAD,6 Cylinders

ASSY, Incl 2 - 8

1шт.

2

NSS

NOT SOLD SEPARAT

Cylinedr head, Incl in 1

1шт.

3

4895085

EXPANSION PLUG,25.74mm

13шт.

4

4895406

EXPANSION PLUG,9.8mm OD

7шт.

5

4895089

PLUG,0.886" L

11шт.

6

4895407

EXPANSION PLUG,38.28mm OD

2шт.

7

4897578

VALVE SEAT,28mm ID x 34.9mm OD x 5.75mm L

Right

12шт.

7

4897106

VALVE SEAT,28mm ID x 34.9mm OD x 5.75mm L

Left

12шт.

8

4893036

PIPE PLUG,3/4"-14 NPTF

1шт.

9

5801418588

CYLINDER HEAD GASKET

1шт.

10

4891024

BOLT,Flng, M12 x 1.75 x 130mm

12шт.

10

4891025

SCREW,Flng, M12 x 1.75 x 150mm

14шт.

Выбрано товаров: 12