Запчасти Case F4HFE613C B004 (10.101.AA) - CYLINDER HEAD (10) - ENGINE

Схема запчастей Case F4HFE613C B004 - (10.101.AA) - CYLINDER HEAD (10) - ENGINE
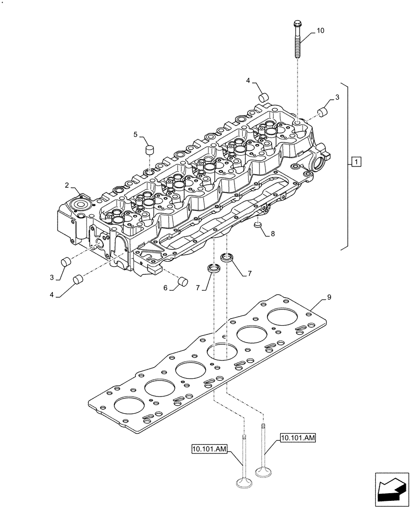
10
5
1
6
7
3
2
9
7
4
10.101.am
4
10.101.am
8
3
FIT
1:1
100%

Артикул

Название

Примечание

Количество

1

2831274

CYLINDER HEAD,6 Cylinders

ASSY, Incl 2 - 8

1шт.

1

2831274R

REMAN-CYLINDER HEAD

1шт.

1

2831274C

CORE-CYLINDER HEAD

Return Number

1шт.

2

2831279

CYLINDER HEAD,6 Cylinders

1шт.

2

2831278

CYLINDER HEAD,6 Cylinders

1шт.

3

4895085

EXPANSION PLUG,25.74mm

13шт.

4

4895406

EXPANSION PLUG,9.8mm OD

7шт.

5

4895089

PLUG,0.886" L

11шт.

6

4895407

EXPANSION PLUG,38.28mm OD

2шт.

7

4897578

VALVE SEAT,28mm ID x 34.9mm OD x 5.75mm L

12шт.

7

4897106

VALVE SEAT,28mm ID x 34.9mm OD x 5.75mm L

12шт.

8

4893036

PIPE PLUG,3/4"-14 NPTF

1шт.

9

47536485

CYLINDER HEAD GASKET,1.15mm Thk

1.15 mm

1шт.

9

47536495

CYLINDER HEAD GASKET,1.25mm Thk

1.25 mm

1шт.

10

4891025

SCREW,Flng, M12 x 1.75 x 150mm

M12 x 150

14шт.

Выбрано товаров: 15