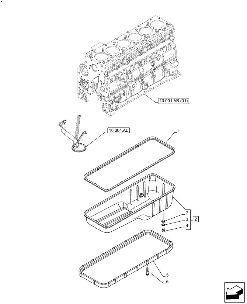
Запчасти Case F4HFE613E B005 (10.102.AP) - ENGINE OIL PAN (10) - ENGINE

Схема запчастей Case F4HFE613E B005 - (10.102.AP) - ENGINE OIL PAN (10) - ENGINE
10.304.al
3
4
2
7
1
6
5
10.001.ab (01)
FIT
1:1
100%

Артикул

Название

Примечание

Количество

1

47590191

GASKET

1шт.

2

2859324

ENGINE OIL PAN

ASSY, Incl 3, 4, 7

1шт.

2

4898037

ENGINE OIL PAN

1шт.

2

4898038

ENGINE OIL PAN

1шт.

3

NSS

NOT SOLD SEPARAT

Sealing washer, Incl in 2

2шт.

4

4895291

SCREW,Hex Flg, M10 x 1.5 x 20

2шт.

5

4897858

SPACER

1шт.

6

4899091

SCREW,Hex Flange Cap, M8 x 1.25 x 40.00mm

18шт.

6

4899078

SCREW,Hex Flg, M8 x 1.25 x 45

18шт.

7

4895577

PLUG

Plug, Incl in 2

2шт.

Выбрано товаров: 0