Запчасти Case F4HFE613F A001 (10.101.AA) - CYLINDER HEAD (10) - ENGINE

Схема запчастей Case F4HFE613F A001 - (10.101.AA) - CYLINDER HEAD (10) - ENGINE
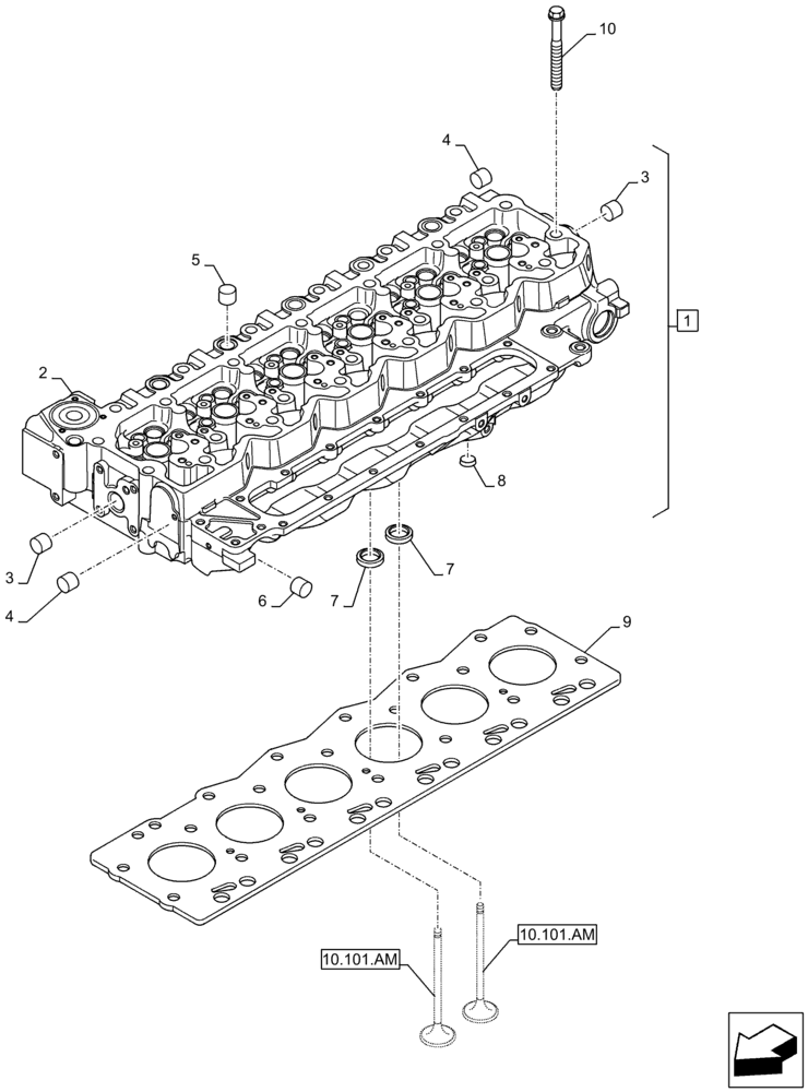
10
3
9
4
7
1
7
10.101.am
6
10.101.am
2
4
3
8
5
FIT
1:1
100%

Артикул

Название

Примечание

Количество

1

2831274

CYLINDER HEAD,6 Cylinders

ASSY, Incl 2 - 8

1шт.

1

2831274R

REMAN-CYLINDER HEAD

1шт.

1

2831274C

CORE-CYLINDER HEAD

Return Number

1шт.

2

2831279

CYLINDER HEAD,6 Cylinders

1шт.

2

2831278

CYLINDER HEAD,6 Cylinders

1шт.

3

4895085

EXPANSION PLUG,25.74mm

13шт.

4

4895406

EXPANSION PLUG,9.8mm OD

7шт.

5

4895089

PLUG,0.886" L

11шт.

6

4895407

EXPANSION PLUG,38.28mm OD

2шт.

7

4897578

VALVE SEAT,28mm ID x 34.9mm OD x 5.75mm L

12шт.

7

4897106

VALVE SEAT,28mm ID x 34.9mm OD x 5.75mm L

12шт.

8

4893036

PIPE PLUG,3/4"-14 NPTF

1шт.

9

2830705

CYLINDER HEAD GASKET,1.15mm Thk

1.15 mm

1шт.

9

2830704

CYLINDER HEAD GASKET,1.25mm Thk

1.25 mm

1шт.

10

4891024

BOLT,Flng, M12 x 1.75 x 130mm

M12 x 130

12шт.

10

4891025

SCREW,Flng, M12 x 1.75 x 150mm

M12 x 150

14шт.

Выбрано товаров: 16