Качественные детали и логистика
Оригинальные и аналоговые запчасти с доставкой по России, Казахстану и Беларуси
©2022 PartSell ООО "Система" ИНН 2463123282 ОГРН 1212400004838
Центральный офис: г. Красноярск, Академика Киренского, д.87, пом.4
Телефон: 8 (800) 777-65-74 Email: zakaz@partsell.ru
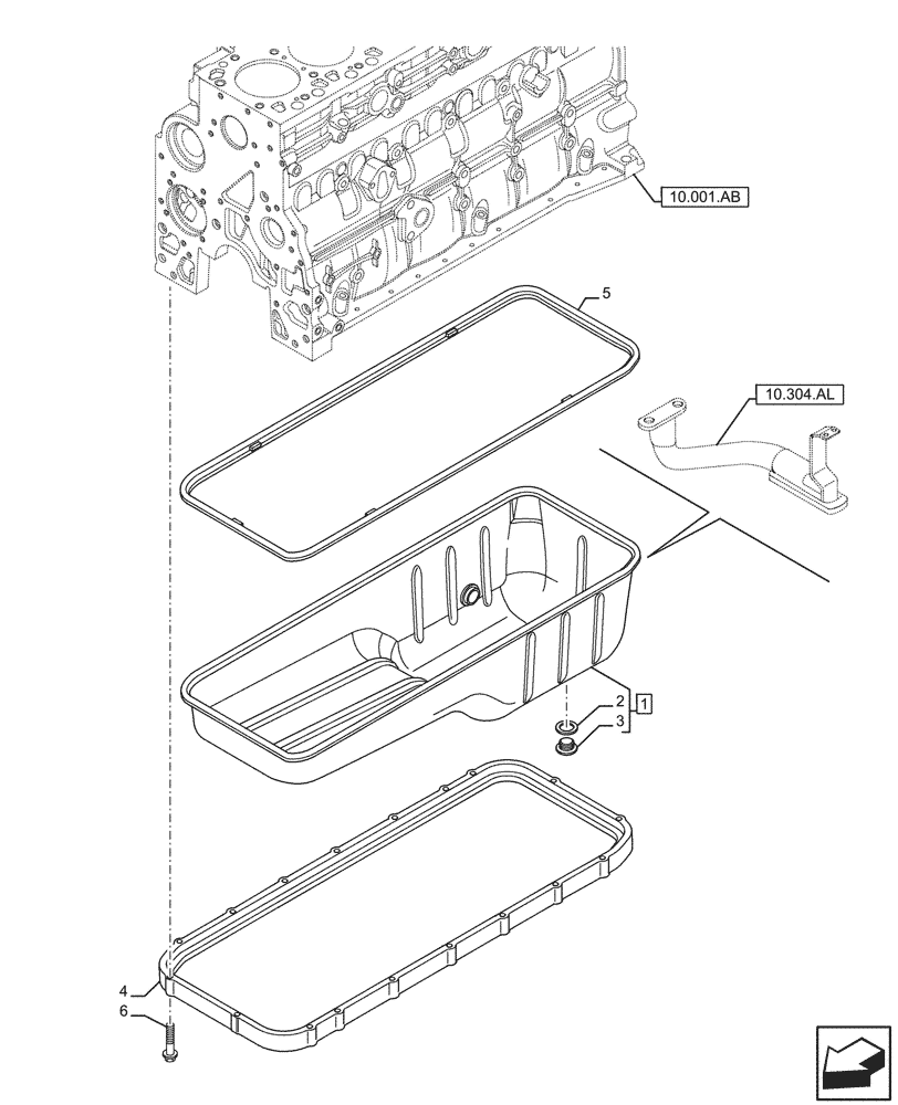
(10.102.AP) - ENGINE OIL PAN
№
Артикул
Название
Примечание
Количество
1
2859324
ENGINE OIL PAN
ASSY, Incl 2, 3
1шт.
2
NSS
NOT SOLD SEPARAT
Washer, Incl in 1
2шт.
3
Plug, Incl in 1
4
4897858
SPACER
5
47590191
GASKET
6
4899091
SCREW,Hex Flange Cap, M8 x 1.25 x 40.00mm
14шт.
Выбрано товаров: 0