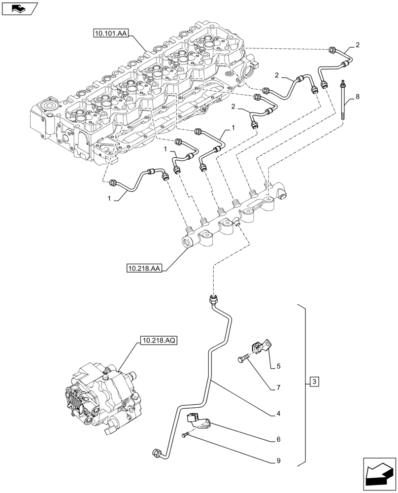
Запчасти Case F4HFA613F E005 (10.218.AI[01]) - INJECTION PIPE (10) - ENGINE

Схема запчастей Case F4HFA613F E005 - (10.218.AI[01]) - INJECTION PIPE (10) - ENGINE
2
8
1
6
3
10.218.aa
2
10.218.aq
10.101.aa
1
9
1
home
4
5
7
2
FIT
1:1
100%

Артикул

Название

Примечание

Количество

1

2857017

PIPE

3шт.

2

2857046

PIPE

3шт.

3

2857049

FUEL TUBE,178.6, 86.1 mm Length

ASSY, Incl 4 - 7, 9

1шт.

4

NSS

NOT SOLD SEPARAT

Pipe, Incl in 3

1шт.

5

2854556

CLAMP BRACKET

2шт.

5

2854558

RUBBER SEAL

1шт.

6

2854557

CLAMP BRACKET

2шт.

7

2854559

SCREW

2шт.

8

2853537

BOLT,Hex Flange Head Cap M8 x 1.25 x 125mm

4шт.

9

4899020

FLANGE BOLT,Hex, M8 x 1.25 x 20mm

M8 x 1.25 x 20

1шт.

Выбрано товаров: 10