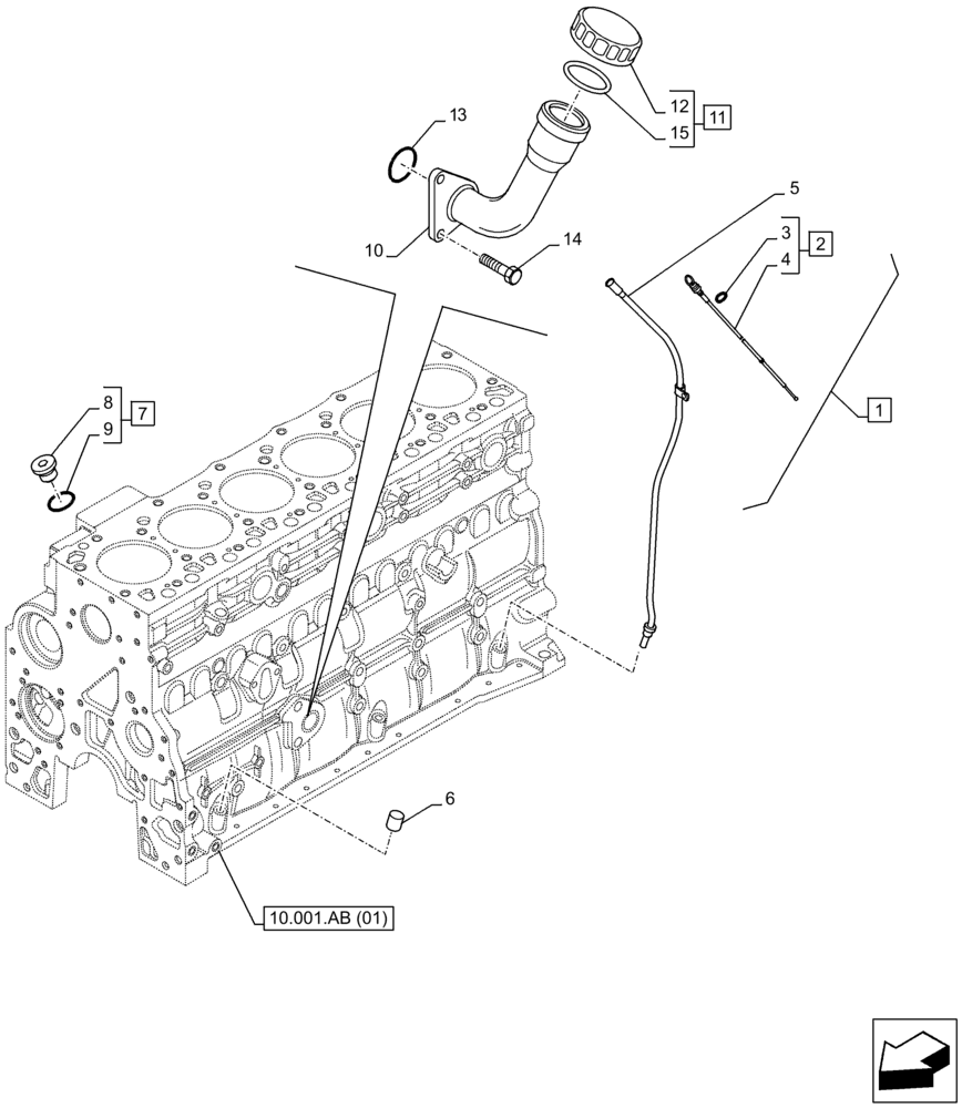
Запчасти Case F4HFA613L E001 (10.304.AJ) - ENGINE OIL, DIPSTICK (10) - ENGINE

Схема запчастей Case F4HFA613L E001 - (10.304.AJ) - ENGINE OIL, DIPSTICK (10) - ENGINE
1
5
7
15
8
6
3
3
2
4
1
10
1
10.001.ab (01)
14
9
12
1
FIT
1:1
100%

Артикул

Название

Примечание

Количество

1

2855212

ASSY, Incl 2 - 5

1шт.

2

2855215

DIPSTICK

ASSY, Incl 3, 4

1шт.

3

4898502

O-RING,0.364" ID x 0.504" OD x 0.07"

1шт.

4

NSS

NOT SOLD SEPARAT

Handgrip, Incl in 1

1шт.

5

2855213

TUBE

1шт.

6

4895406

EXPANSION PLUG,9.8mm OD

3шт.

7

4897330

HEX SOCKET PLUG,M12 x 1.5

ASSY, Incl 6, 7

2шт.

8

4897459

PLUG,M12 x 1.5 x 11.5mm L

1шт.

9

4895610

O-RING,2.2mm Thk x 9.3mm ID

1шт.

10

2853407

NECK FILLER,143, 117.3 mm Length

1шт.

11

2853410

FILLER CAP,Female

ASSY, Incl 10, 13

1шт.

12

NSS

NOT SOLD SEPARAT

Cap, Incl in 1

1шт.

13

2852135

O-RING,2.6mm Thk x 37.7mm ID

1шт.

14

2852134

FLANGE BOLT,Hex, M12 x 1.75 x 25mm

1шт.

15

2853412

O-RING,0.21" Thk x 1.475" ID

1шт.

Выбрано товаров: 15