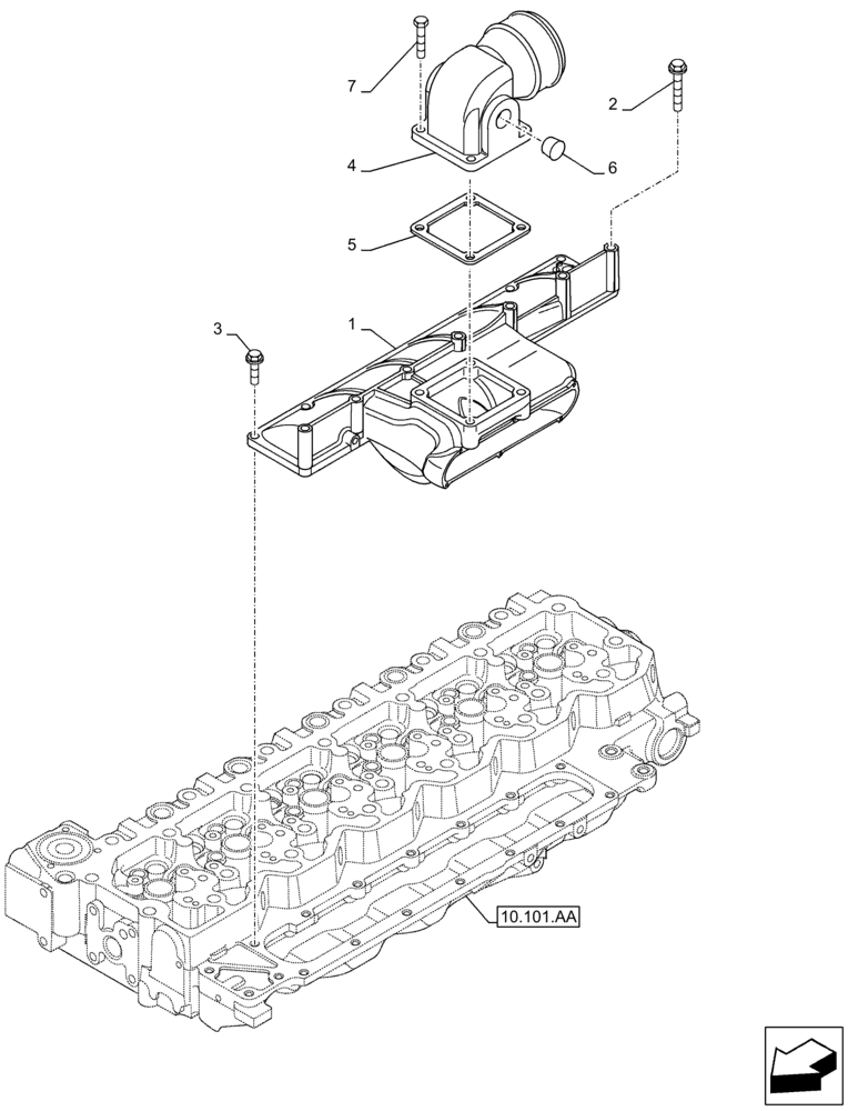
Запчасти Case F4HFA613M E001 (10.254.AM) - MANIFOLD, INTAKE (10) - ENGINE

Схема запчастей Case F4HFA613M E001 - (10.254.AM) - MANIFOLD, INTAKE (10) - ENGINE
7
5
10.101.aa
1
3
2
4
6
FIT
1:1
100%

Артикул

Название

Примечание

Количество

1

2854534

INLET MANIFOLD

1шт.

2

4895432

SCREW,M8 x 1.25 x 70mm

M8 x 1.25 x 70

3шт.

3

4899039

BOLT,Flng, M8 x 1.25 x 25mm, Cl 10.9

M8 x 1.25 x 25

7шт.

4

4895424

INLET MANIFOLD

1шт.

5

4899921

GASKET,1.2mm Thk

1шт.

6

4893036

PIPE PLUG,3/4"-14 NPTF

2шт.

7

2852212

FLANGE BOLT,Hex, M8 x 1.25 x 25mm

M8 x 1.25 x 25

4шт.

Выбрано товаров: 7