Запчасти Case F4HFE413H B004 (10.218.AF) - FUEL INJECTOR (10) - ENGINE

Схема запчастей Case F4HFE413H B004 - (10.218.AF) - FUEL INJECTOR (10) - ENGINE
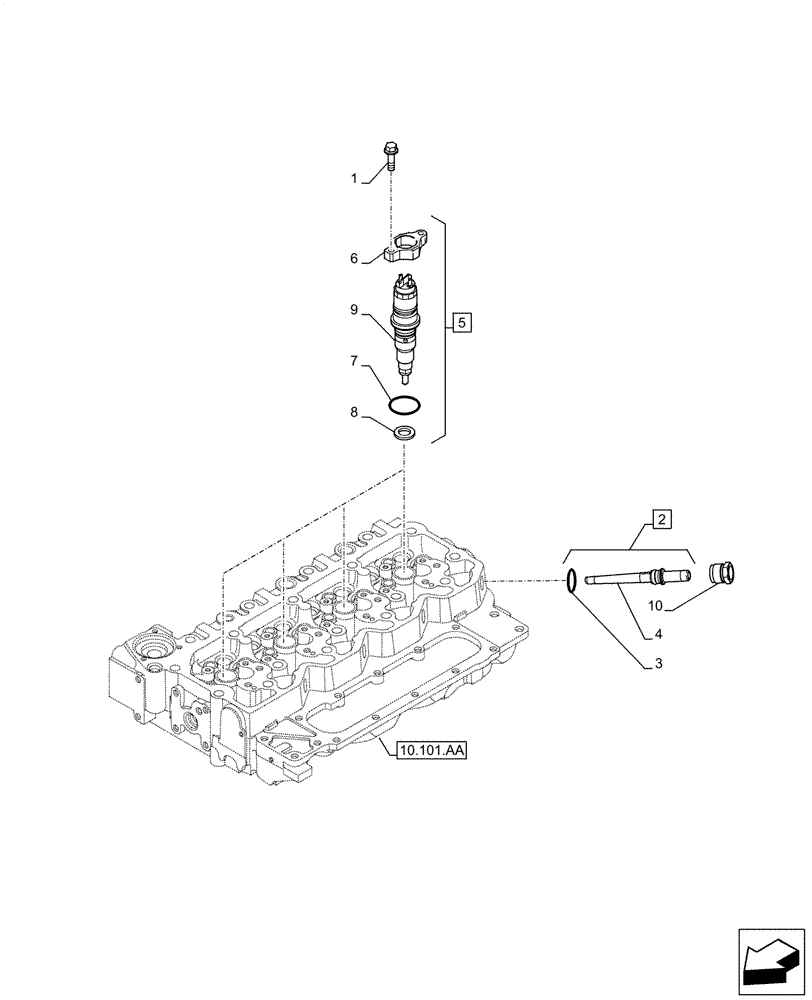
1
5
10
4
9
3
2
10.101.aa
8
6
7
FIT
1:1
100%

Артикул

Название

Примечание

Количество

1

4895483

BOLT,Flng, M6 x 1 x 35mm

M6 x 1 x 35

8шт.

2

2854606

FUEL TUBE,Connector Assembly

ASSY, Incl 3, 4

4шт.

3

4890929

O-RING,3mm Thk x 11mm ID

ID = 11.0 x 3.0

1шт.

4

NSS

NOT SOLD SEPARAT

Fitting, Incl in 2

1шт.

5

2855135

FUEL SYSTEM INJECTOR

ASSY, Incl 6 - 9

4шт.

5

2855135R

REMAN-FUEL INJECTOR

Reman For New PN 2855135

4шт.

5

2855135C

CORE-FUEL INJECTOR

Return Number

4шт.

6

2854609

BRACKET

1шт.

7

4890926

O-RING,3mm Thk x 20.9mm ID, 60 Duro

ID = 20.9 x 3.0

1шт.

8

4899689

SEALING WASHER,7mm ID x 15mm OD x 1.5mm Thk

1шт.

9

2854607

HYD CONNECTOR

1шт.

10

4893739

TUBE NUT,Hex, M22 x 1.5

4шт.

Выбрано товаров: 12