Запчасти Case F4HFE413P A008 (10.218.AF) - FUEL INJECTOR (10) - ENGINE

Схема запчастей Case F4HFE413P A008 - (10.218.AF) - FUEL INJECTOR (10) - ENGINE
10.101.aa
3
6
5
10
7
4
2
8
9
1
FIT
1:1
100%

Артикул

Название

Примечание

Количество

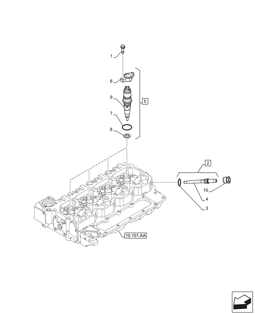
1

4895483

BOLT,Flng, M6 x 1 x 35mm

8шт.

2

504100835

FITTING

ASSY, Incl 3, 4

4шт.

2

504100835R

REMAN-INJECT NOZZLE

Reman Injection Nozzle

4шт.

2

504100835C

CORE-NOZZLE, INJECT

Return Number

4шт.

3

4890929

O-RING,3mm Thk x 11mm ID

1шт.

4

NSS

NOT SOLD SEPARAT

Fitting, Incl in 2

1шт.

5

504128307

FUEL SYSTEM INJECTOR

ASSY, Incl 6 - 9

4шт.

6

504091492

BRACKET

1шт.

7

4890926

O-RING,3mm Thk x 20.9mm ID, 60 Duro

4шт.

8

4899689

SEALING WASHER,7mm ID x 15mm OD x 1.5mm Thk

1шт.

9

NSS

NOT SOLD SEPARAT

Injector, Incl in 5

1шт.

10

4893739

TUBE NUT,Hex, M22 x 1.5

4шт.

Выбрано товаров: 12