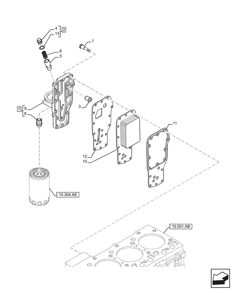
Запчасти Case F4HFE413P A008 (10.408.AC) - ENGINE OIL, HEAT EXCHANGER (10) - ENGINE

Схема запчастей Case F4HFE413P A008 - (10.408.AC) - ENGINE OIL, HEAT EXCHANGER (10) - ENGINE
10.001.ab
9
12
2
11
5
7
8
10
4
1
13
3
6
10.304.ae
FIT
1:1
100%

Артикул

Название

Примечание

Количество

1

4899019

SCREW,Hex Flg, M8 x 1.25 x 35

15шт.

2

504096409

PLUG

ASSY, Incl 4, 13

1шт.

3

4896410

VALVE PRESSURE RELIE

1шт.

4

NSS

NOT SOLD SEPARAT

Plug, Incl in 2

1шт.

5

4896404

PLUNGER,10mm ID, 12mm OD, 15.44mm ID, 18.26mm OD

1шт.

6

4895045

SPRING,Compression, 14.7mm OD x 66mm L

1шт.

7

4899566

FILTER HEAD

ASSY, Incl 8, 9

1шт.

8

4893391

ADAPTER,M24 x 2 x M27 x 2

1шт.

9

NSS

NOT SOLD SEPARAT

Housing, Incl in 7

1шт.

10

4896406

HEAT EXCHANGER

1шт.

11

2830559

GASKET,0.5mm Thk

1шт.

12

4896409

GASKET,1.55mm Thk

1шт.

13

17916280

SEAL

1шт.

Выбрано товаров: 13