Запчасти Case F4HFE413Y B001 (10.101.AA) - CYLINDER HEAD (10) - ENGINE

Схема запчастей Case F4HFE413Y B001 - (10.101.AA) - CYLINDER HEAD (10) - ENGINE
2
7
10.101.am
3
4
4
10.101.am
7
6
3
9
5
8
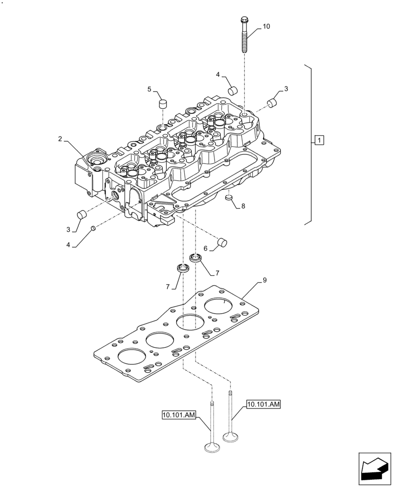
1
10
FIT
1:1
100%

Артикул

Название

Примечание

Количество

1

2831261

CYLINDER HEAD,4 Cylinders

ASSY, Incl 2 - 8

1шт.

2

2831265

CYLINDER HEAD,4 Cylinders

Alternative

1шт.

2

2831266

CYLINDER HEAD,4 Cylinders

Alternative

1шт.

3

4895085

EXPANSION PLUG,25.74mm

18шт.

4

4895406

EXPANSION PLUG,9.8mm OD

10шт.

5

4895089

PLUG,0.886" L

14шт.

6

4895407

EXPANSION PLUG,38.28mm OD

2шт.

7

4897578

VALVE SEAT,28mm ID x 34.9mm OD x 5.75mm L

For Cylinder Head 2831265

8шт.

7

4897106

VALVE SEAT,28mm ID x 34.9mm OD x 5.75mm L

For Cylinder Head 2831265

8шт.

8

4893036

PIPE PLUG,3/4"-14 NPTF

3шт.

9

47667973

GASKET

1.15 mm

1шт.

9

47668405

GASKET

1.25 mm

1шт.

10

4891024

BOLT,Flng, M12 x 1.75 x 130mm

M12 x 130

8шт.

10

4891025

SCREW,Flng, M12 x 1.75 x 150mm

M12 x 150

10шт.

Выбрано товаров: 14