Запчасти Case F5BFL413D C001 (10.001.AB) - CYLINDER BLOCK & RELATED PARTS (10) - ENGINE

Схема запчастей Case F5BFL413D C001 - (10.001.AB) - CYLINDER BLOCK & RELATED PARTS (10) - ENGINE
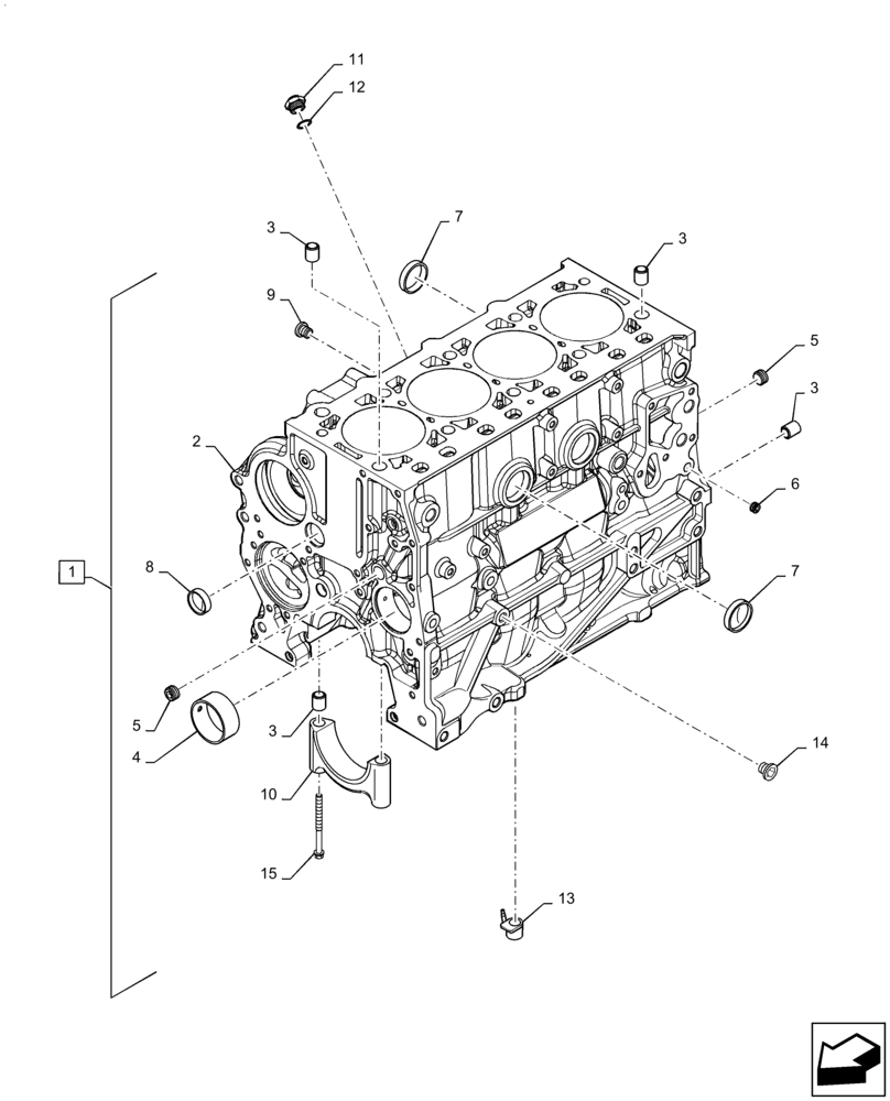
7
4
7
6
2
3
14
3
3
5
12
3
15
9
5
1
10
11
13
8
FIT
1:1
100%

Артикул

Название

Примечание

Количество

1

5801501610

CYLINDER BLOCK,4 Cylinders

ASSY, Incl 2 - 10, 15

1шт.

2

NSS

NOT SOLD SEPARAT

Cylinder Block, Incl in 1

1шт.

3

7300019

DOWEL,0.75mm Thk

14шт.

4

4895040

BUSHING,54.39mm ID x 59.39mm OD x 25.4mm L

1шт.

5

504051238

PLUG,Threaded, 3/8" Dia

3шт.

6

504138060

PLUG

Cylinder Block

4шт.

7

14329901

PLUG,M40, Tapered

5шт.

8

16990970

PLUG,Lock, 30mm Dia

1шт.

9

504016052

PLUG,M14 x 1.5

1шт.

10

NSS

NOT SOLD SEPARAT

Cylinder Block Support, Incl in 1

1шт.

11

504077652

SEALING WASHER,13mm ID x 19mm OD

1шт.

12

5801720267

UNION

1шт.

13

5801363466

LUBE OIL NOZZLE

4шт.

14

17917015

PLUG

Cylinder Block

1шт.

15

4891353

SCREW,Flg Hd, M12 x 1.5 x 120

10шт.

Выбрано товаров: 15