Качественные детали и логистика
Оригинальные и аналоговые запчасти с доставкой по России, Казахстану и Беларуси
©2022 PartSell ООО "Система" ИНН 2463123282 ОГРН 1212400004838
Центральный офис: г. Красноярск, Академика Киренского, д.87, пом.4
Телефон: 8 (800) 777-65-74 Email: zakaz@partsell.ru
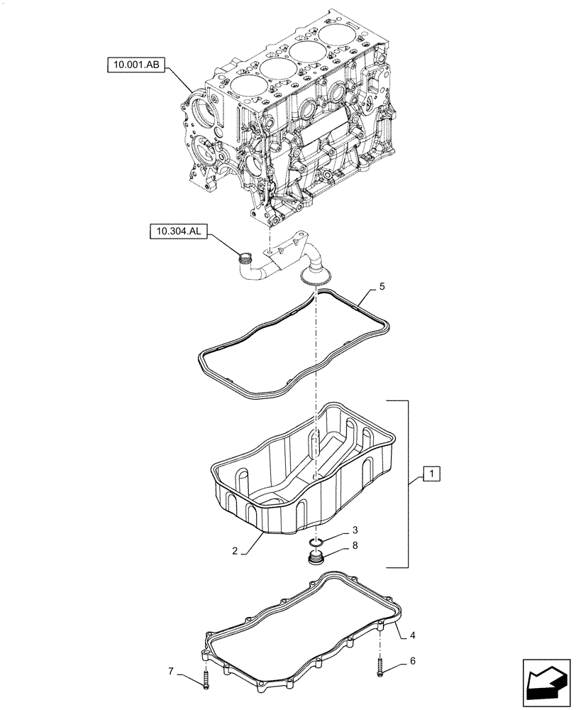
(10.102.AP) - OIL SUMP
№
Артикул
Название
Примечание
Количество
1
504179445
ENGINE OIL PAN
Incl 2, 3, 8
1шт.
2
NSS
NOT SOLD SEPARAT
Pan, Incl in 1
3
5135740
O-RING,0.924" ID x 1.13" OD x 0.103"
4
504179442
SPACER
5
504179443
OIL PAN GASKET SET
6
16586625
BOLT,M8 x 35mm
11шт.
7
504049517
SCREW
M10 x 1,5 x 90
2шт.
8
4894139
PLUG,Hex Soc, M22 x 1.5
Выбрано товаров: 0