Запчасти Case F5CE9454E A002 (0.31.0) - HEAT EXCHANGER (504154694)

Схема запчастей Case F5CE9454E A002 - (0.31.0) - HEAT EXCHANGER (504154694)
1
6
home
0.04.0
0.24.0
0.24.0
0.24.0
8
2
7
5
4
5
3
FIT
1:1
100%

Артикул

Название

Примечание

Количество

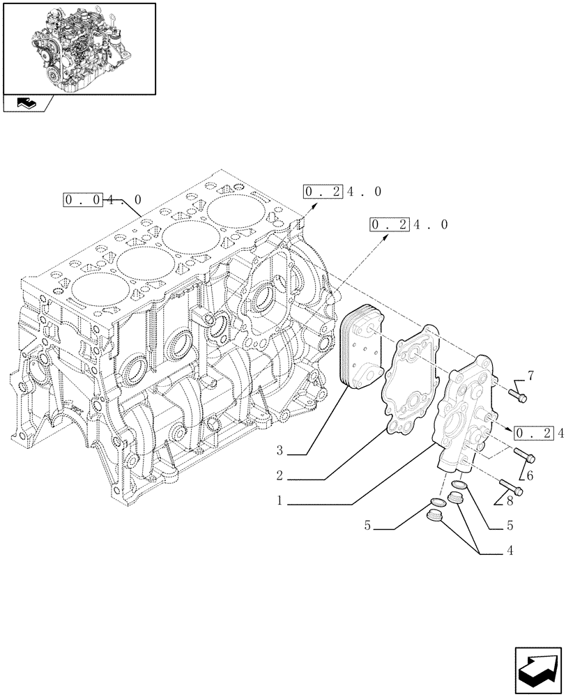
1

504155542

BODY

1шт.

2

504155544

GASKET

1шт.

3

504164307

OIL COOLER

1шт.

4

10275011

PLUG,M22 x 1.5 x 13

M22X1,5 mm

2шт.

5

87332142

SEAL,23.5mm ID x 30mm OD x 1.5mm Thk

D. 22 mm

2шт.

6

16586725

BOLT,Hex, M8 x 1.25 x 40mm

M8 x 1.25 x 40

2шт.

7

16673835

BOLT,Hex, M8 x 30mm

M8 x 30

9шт.

8

16586925

BOLT,M8 x 50mm

M8 x 50

1шт.

Выбрано товаров: 0