Качественные детали и логистика
Оригинальные и аналоговые запчасти с доставкой по России, Казахстану и Беларуси
©2022 PartSell ООО "Система" ИНН 2463123282 ОГРН 1212400004838
Центральный офис: г. Красноярск, Академика Киренского, д.87, пом.4
Телефон: 8 (800) 777-65-74 Email: zakaz@partsell.ru
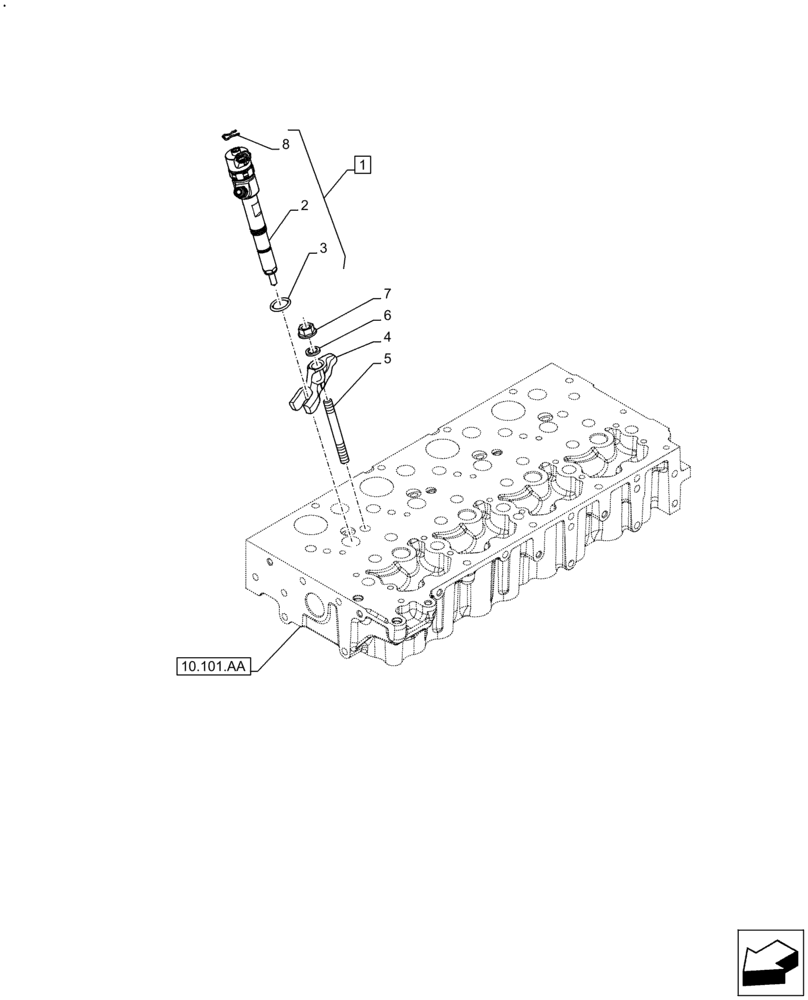
(10.218.AF) - FUEL INJECTOR
№
Артикул
Название
Примечание
Количество
1
5801569141
INJECTOR, EMISSIONS
ASSY; Incl 2; 3; 8
4шт.
2
NSS
NOT SOLD SEPARAT
Injector; Incl in 1
3
8099055
SEALING WASHER
Sp=1,5 mm
4
504378841
BRACKET
5
5801473742
STUD
M8 x 65 mm
6
500353601
WASHER
7
17044731
FLANGE NUT,Hex, M8 x 1.25, Cl 10
M8
8
8097971
CLASP
Выбрано товаров: 0