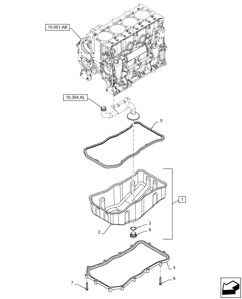
Запчасти Case F5HFL463C F002 (10.102.AP) - OIL SUMP & RELATED PARTS (10) - ENGINE

Схема запчастей Case F5HFL463C F002 - (10.102.AP) - OIL SUMP & RELATED PARTS (10) - ENGINE
1
4
10.304.al
2
8
6
3
7
5
10.001.ab
FIT
1:1
100%

Артикул

Название

Примечание

Количество

1

504179445

ENGINE OIL PAN

Incl 2, 3, 8

1шт.

2

NSS

NOT SOLD SEPARAT

Incl in 1

1шт.

3

4895584

O-RING,0.924mm ID x 0.103mm Width

1шт.

4

5801363457

SPACER

1шт.

5

504179443

OIL PAN GASKET SET

1шт.

6

16586625

BOLT,M8 x 35mm

11шт.

7

504049517

SCREW

2шт.

8

4894139

PLUG,Hex Soc, M22 x 1.5

1шт.

Выбрано товаров: 8