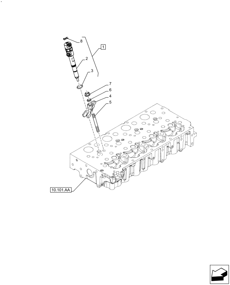
Запчасти Case F5HFL463C G001 (10.218.AF) - FUEL INJECTOR (10) - ENGINE

Схема запчастей Case F5HFL463C G001 - (10.218.AF) - FUEL INJECTOR (10) - ENGINE
3
1
7
10.101.aa
4
6
8
2
5
FIT
1:1
100%

Артикул

Название

Примечание

Количество

1

5801569141

INJECTOR, EMISSIONS

ASSY; Incl 2; 3; 8

4шт.

2

NSS

NOT SOLD SEPARAT

Injector; Incl in 1

4шт.

3

8099055

SEALING WASHER

Sp=1,5 mm

4шт.

4

504378841

BRACKET

4шт.

5

5801473742

STUD

M8 x 65 mm

4шт.

6

500353601

WASHER

4шт.

7

17044731

FLANGE NUT,Hex, M8 x 1.25, Cl 10

M8

4шт.

8

8097971

CLASP

4шт.

Выбрано товаров: 8