Качественные детали и логистика
Оригинальные и аналоговые запчасти с доставкой по России, Казахстану и Беларуси
©2022 PartSell ООО "Система" ИНН 2463123282 ОГРН 1212400004838
Центральный офис: г. Красноярск, Академика Киренского, д.87, пом.4
Телефон: 8 (800) 777-65-74 Email: zakaz@partsell.ru
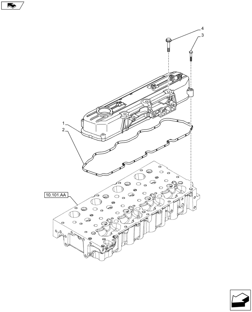
(10.101.AB) - CYLINDER HEAD, COVER
№
Артикул
Название
Примечание
Количество
1
5801645338
1шт.
2
5801446795
GASKET
3
16591725
SCREW,Hex, M6 x 40mm
7шт.
4
16598325
BOLT,Hex, M8 x 100mm
3шт.
Выбрано товаров: 0