Запчасти Case ISM N844 (10.114.10) - HIGH IDLE ADJUSTMENT (10) - ENGINE

Схема запчастей Case ISM N844 - (10.114.10) - HIGH IDLE ADJUSTMENT (10) - ENGINE
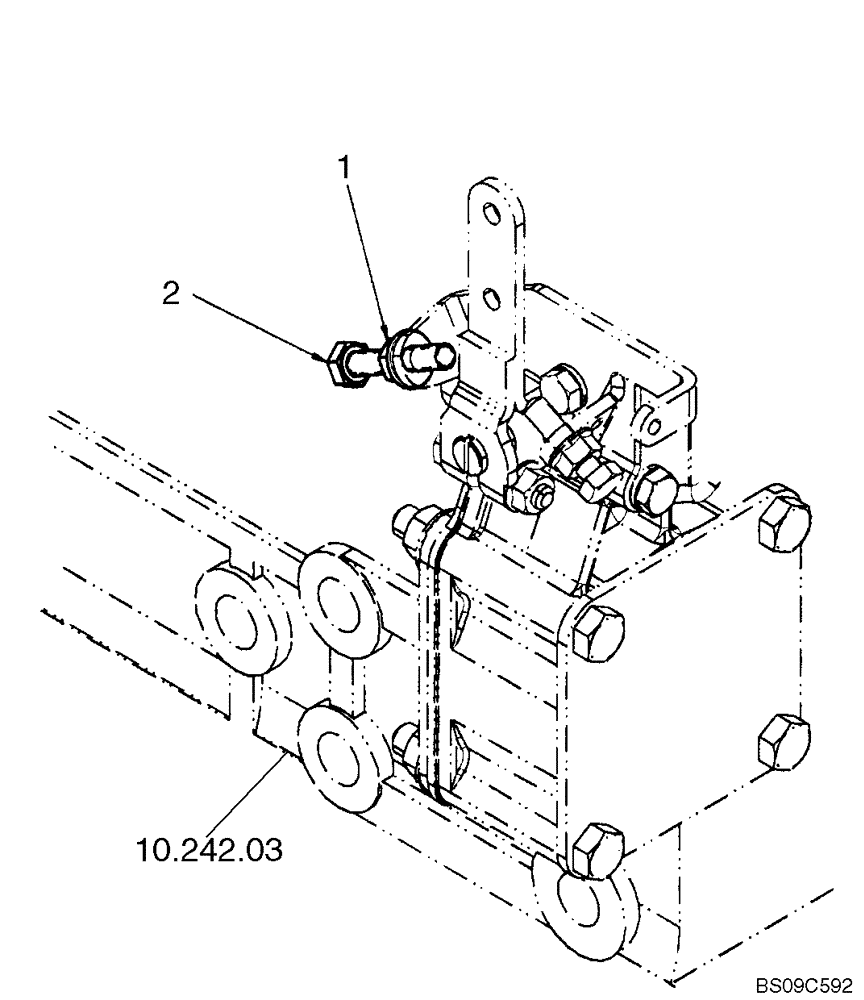
1
10.242.03
2
FIT
1:1
100%

Артикул

Название

Примечание

Количество

1

86511444

FLANGE NUT,Hex, M6 x 1

1шт.

2

15212521

BOLT,Hex, M6 x 35mm, Cl 8.8, Full Thd

1шт.

Injection Pump; See Figure 10.242.03

1шт.

Выбрано товаров: 0