Качественные детали и логистика
Оригинальные и аналоговые запчасти с доставкой по России, Казахстану и Беларуси
©2022 PartSell ООО "Система" ИНН 2463123282 ОГРН 1212400004838
Центральный офис: г. Красноярск, Академика Киренского, д.87, пом.4
Телефон: 8 (800) 777-65-74 Email: zakaz@partsell.ru
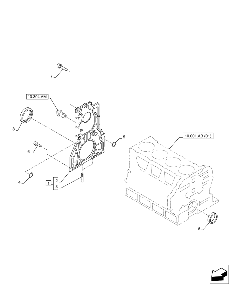
(10.102.AK) - ENGINE, BLOCK, COVER
№
Артикул
Название
Примечание
Количество
1
47436266
COVER
ASSY, Frt Cover, Incl 2 - 3
1шт.
2
NSS
NOT SOLD SEPARAT
Cover, Incl in 1
3
87596030
STUD
2шт.
4
438160A1
GASKET
5
87596009
6
87595258
BOLT
12шт.
7
87595261
8
87596010
SEAL
9
87336448
Выбрано товаров: 0