Качественные детали и логистика
Оригинальные и аналоговые запчасти с доставкой по России, Казахстану и Беларуси
©2022 PartSell ООО "Система" ИНН 2463123282 ОГРН 1212400004838
Центральный офис: г. Красноярск, Академика Киренского, д.87, пом.4
Телефон: 8 (800) 777-65-74 Email: zakaz@partsell.ru
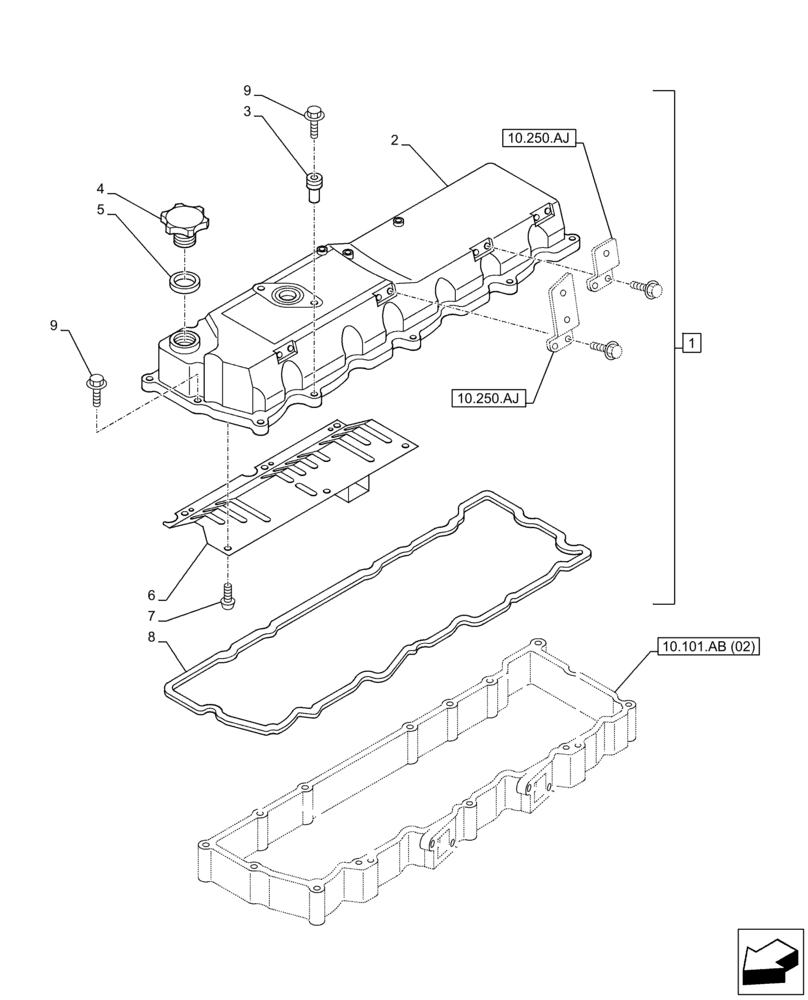
(10.101.AB[01]) - VALVE COVER
№
Артикул
Название
Примечание
Количество
1
84389021
VALVE COVER
ASSY, Valve Cover, Incl 2 - 8
1шт.
2
NSS
NOT SOLD SEPARAT
Cover, Incl in 1
3
87432192
GROMMET
11шт.
4
288798A1
FILLER CAP
5
288797A1
GASKET
6
438070A1
PLATE
7
87595263
SCREW
6шт.
8
438052A1
9
87596527
BOLT
Выбрано товаров: 0