Запчасти Case AQ-6WG1XASS11 (10.206.010) - FUEL FILTER (10) - ENGINE

Схема запчастей Case AQ-6WG1XASS11 - (10.206.010) - FUEL FILTER (10) - ENGINE
10.218.050
26
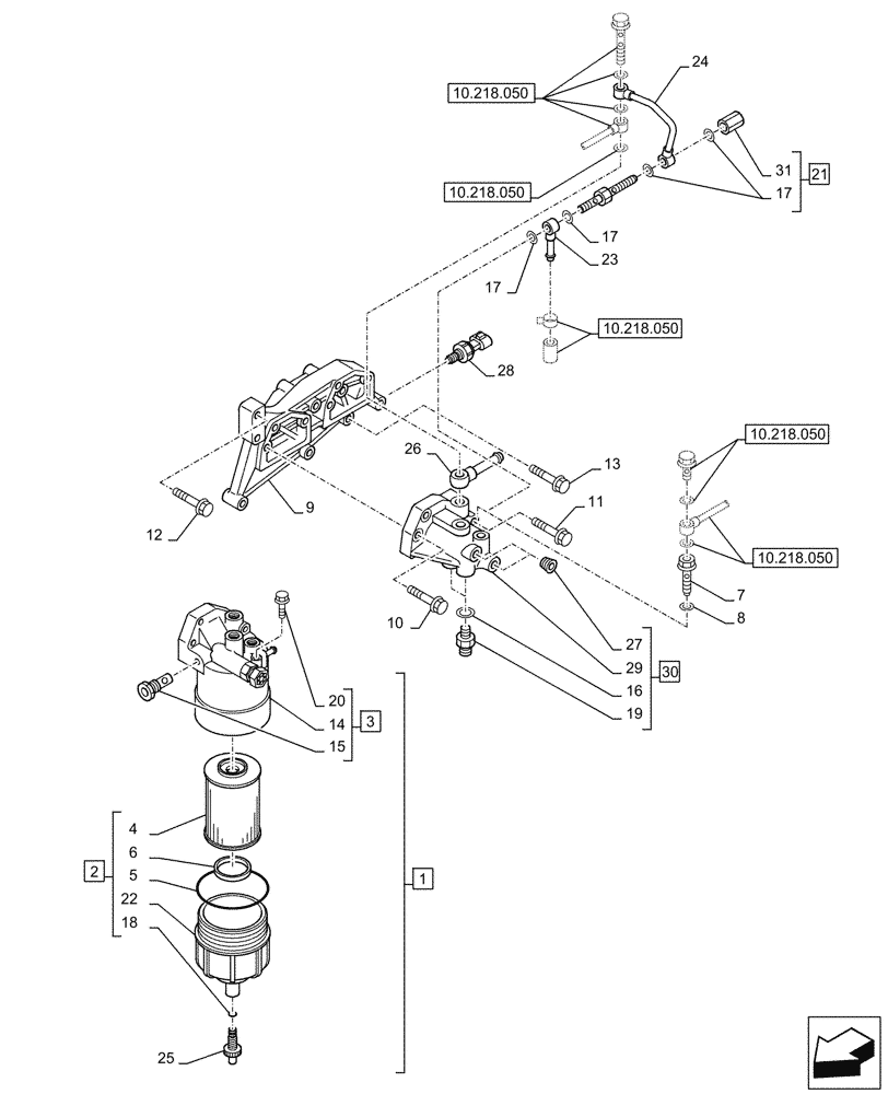
1
5
4
17
20
31
28
16
7
17
30
12
11
15
9
3
21
17
8
2
25
27
10
18
6
22
24
29
23
14
13
19
10.218.050
10.218.050
10.218.050
10.218.050
FIT
1:1
100%

Артикул

Название

Примечание

Количество

1

47921168

FILTER HEAD

ASSY, Incl 2 - 6, 14, 15, 18, 20, 22, 25

2шт.

2

84273157

FUEL FILTER

ASSY, Incl 4 - 6, 18, 22

2шт.

3

47921152

COVER

ASSY, Incl 14, 15, 20

2шт.

4

NSS

NOT SOLD SEPARAT

2шт.

5

87379063

GASKET

2шт.

6

87379072

FLOAT

2шт.

7

47706995

VALVE

1шт.

8

72110175

SEAL

1шт.

9

48089674

BRACKET

1шт.

10

87577258

SPECIAL BOLT

2шт.

11

87596456

BOLT

1шт.

12

87604000

BOLT

2шт.

13

87597774

BOLT,Flng, M10 x 80mm

4шт.

14

NSS

NOT SOLD SEPARAT

2шт.

15

87730431

PLUG

1шт.

16

84477312

GASKET

2шт.

17

288565A1

GASKET

6шт.

18

87379078

PLUG

2шт.

19

84476996

FITTING

2шт.

20

87596944

BOLT

2шт.

21

84477293

BANJO BOLT

ASSY, Incl 17, 31

1шт.

22

87596956

FILTER BOWL

2шт.

23

426417A1

PIPE

1шт.

24

84477000

PIPE

1шт.

25

87386020

PLUG

1шт.

26

84477579

PIPE

1шт.

27

71455253

PLUG

2шт.

28

84477660

SENSOR

1шт.

29

NSS

NOT SOLD SEPARAT

1шт.

30

84478084

PORT

ASSY, Incl 16, 19, 27, 29

1шт.

31

47921210

NUT

1шт.

Выбрано товаров: 31