Запчасти Case LEYLAND (06) - HEAD-VALVE

Схема запчастей Case LEYLAND - (06) - HEAD-VALVE
FIT
1:1
100%

Артикул

Название

Примечание

Количество

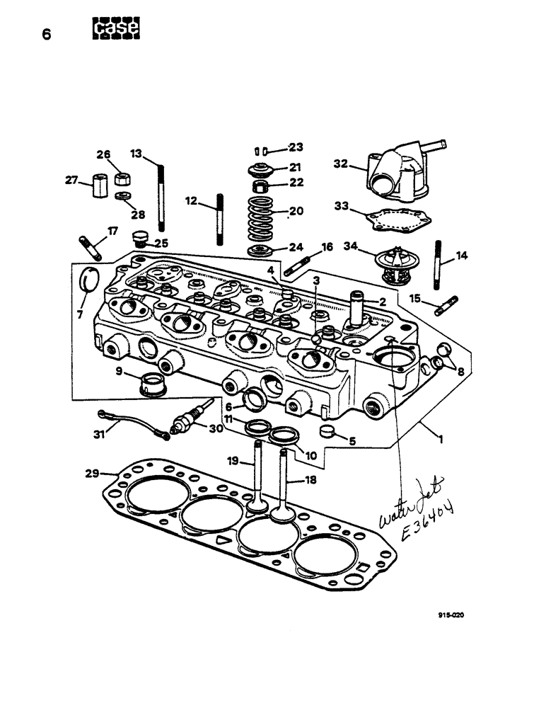
1

E36469

HEAD

assy

1шт.

2

E36470

GUIDE

- valve

8шт.

3

E36404

PLUG

5шт.

4

E36471

PLUG

1шт.

5

E36472

PLUG

7шт.

6

E36408

PLUG

3шт.

7

E36401

PLUG

1шт.

8

E36473

PLUG

2шт.

9

E36474

INSERT

4шт.

10

E36475

INSERT

- valve

4шт.

11

E36476

INSERT

- valve

4шт.

12

E36477

STUD

2шт.

13

E36478

STUD

2шт.

14

E36479

STUD

3шт.

195-520

WASHER,1/4"

- plain

3шт.

192-20

LOCK WASHER,Helical Spring, 0.318" ID, CST, ZND

WASHER, LOCK, 5/16"

3шт.

129-122

NUT,5/16"-24, G5

3шт.

15

E36480

STUD

2шт.

16

E36481

STUD

4шт.

17

E36482

STUD

8шт.

18

E42222

VALVE

- inlet

4шт.

19

E42223

VALVE

- exhaust

4шт.

20

E36485

SPRING

8шт.

21

E36486

COLLAR

8шт.

22

E36487

SEAL

4шт.

23

E36488

PIN

Cotter - valve

8шт.

24

E36489

CUP

8шт.

25

E36490

PLUG

1шт.

26

E36491

NUT

11шт.

27

E36492

NUT

2шт.

28

E36493

WASHER

13шт.

29

E36494

GASKET

- cyl. head

1шт.

30

E36495

GLOW PLUG

Plug

4шт.

31

E36496

CONNECTOR, ELEC

Connection - heater

3шт.

32

E36497

MANIFOLD

Elbow

1шт.

33

E36498

GASKET

1шт.

34

E36499

THERMOSTAT

1шт.

Выбрано товаров: 37