Качественные детали и логистика
Оригинальные и аналоговые запчасти с доставкой по России, Казахстану и Беларуси
©2022 PartSell ООО "Система" ИНН 2463123282 ОГРН 1212400004838
Центральный офис: г. Красноярск, Академика Киренского, д.87, пом.4
Телефон: 8 (800) 777-65-74 Email: zakaz@partsell.ru
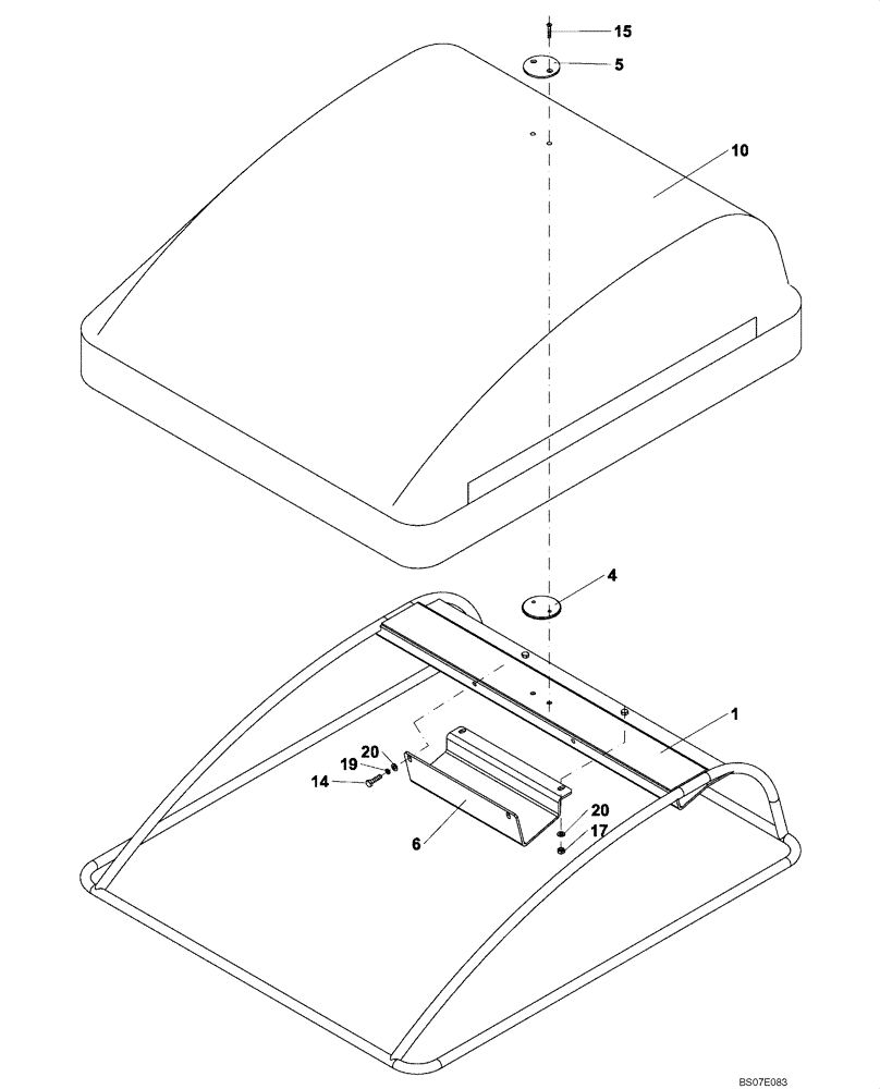
(12-45/124[01]) - CANOPY (GROUP 45/124)
№
Артикул
Название
Примечание
Количество
(ND116390) (CANAPY) (GROUP 45/124)
1шт.
1
ND116392
ROOF FRAME
4
ND116441
PLATE, SPACER
PLATE,SPACER
5
ND116442
WASHER
6
ND116446
BRACKET
10
ND116135
ROOF
14
ND021297
BOLT
2шт.
15
ND024384
SCREW
17
ND027301
NUT
19
ND035940
SPRING WASHER
20
ND029291
Выбрано товаров: 0