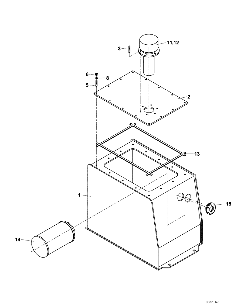
Запчасти Case DV202 (10-370/124[01]) - HYDRAULIC RESERVOIR (GROUP 370/124) (08) - HYDRAULICS

Схема запчастей Case DV202 - (10-370/124[01]) - HYDRAULIC RESERVOIR (GROUP 370/124) (08) - HYDRAULICS
14
3
6
5
13
12
15
8
1
11
FIT
1:1
100%

Артикул

Название

Примечание

Количество

(ND109223) (HYDRAULIC TANK) (GROUP 370/124)

1шт.

1

ND109224

TANK

1шт.

2

ND102154

COVER

1шт.

3

ND054246

BOLT

1шт.

5

ND021710

STUD

14шт.

6

ND021847

NUT

14шт.

8

ND029309

SPRING WASHER

14шт.

9

ND037453

LEADSEAL

Not Illustrated

1шт.

10

ND037454

ELECTRICAL WIRE

WIRE Not Illustrated

1шт.

11

ND065471

CAP

1шт.

12

ND065473

ADAPTER

1шт.

13

ND102274

TAPE

1шт.

14

ND067790

FILTER STRAINER

1шт.

15

ND070149

SIGHTGLASS

2шт.

Выбрано товаров: 14