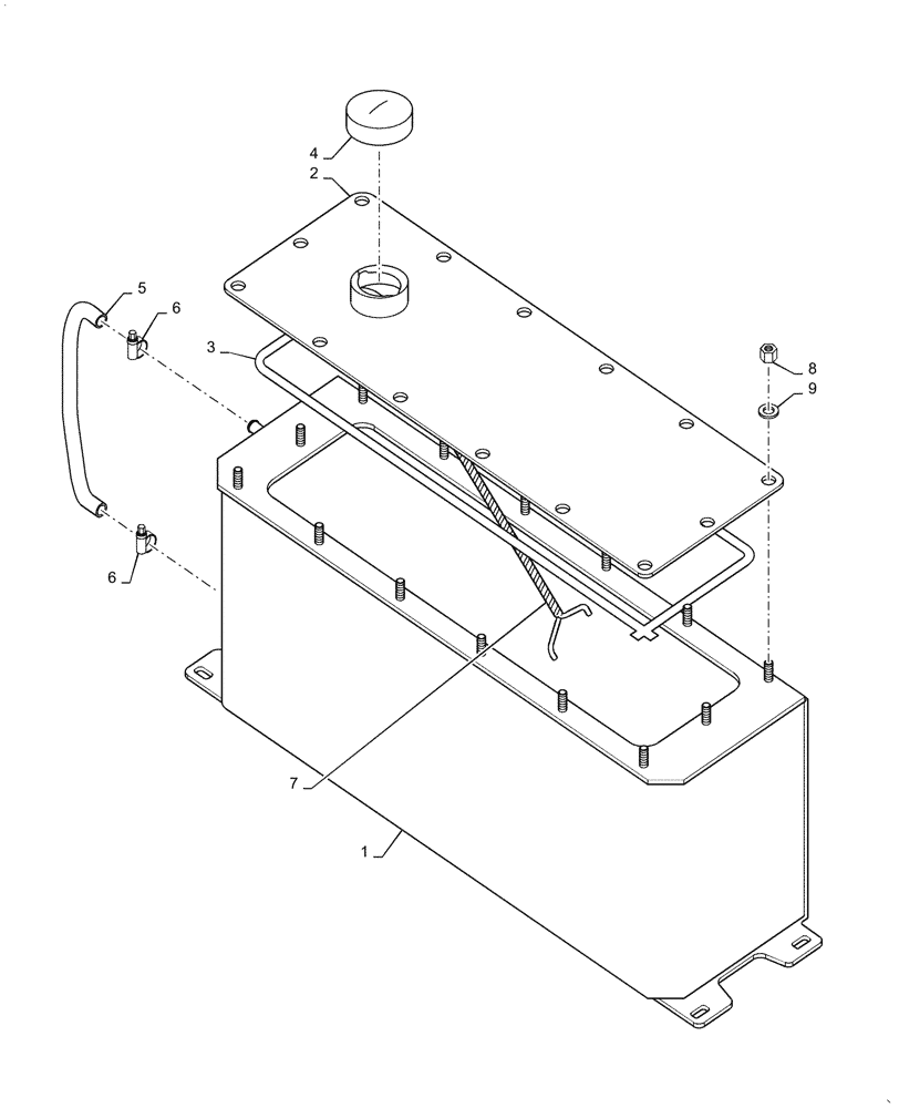
Запчасти Case DV210CD (39.500.AQ[03]) - WATER TANK ASSEMBLY - COMBI (39) - FRAMES AND BALLASTING

Схема запчастей Case DV210CD - (39.500.AQ[03]) - WATER TANK ASSEMBLY - COMBI (39) - FRAMES AND BALLASTING
1
3
5
7
8
2
6
6
4
9
FIT
1:1
100%

Артикул

Название

Примечание

Количество

1

48072584

TANK

Anti-Adhesive

1шт.

2

48072585

COVER

1шт.

3

ND066078

SEALING STRIP

1шт.

4

ND121013

CAP

Anti-Adhesive Tank

1шт.

5

48072587

TUBE

1шт.

6

ND069478

CLIP

2шт.

7

47622182

CAP

Anchor

1шт.

8

ND027301

NUT

14шт.

9

ND029249

WASHER

14шт.

Выбрано товаров: 9