Запчасти Case DV210CD (55.100.AI[01]) - CHASSIS, WIRE HARNESS - COMBI - ASN NGNTP2002 (55) - ELECTRICAL SYSTEMS

Схема запчастей Case DV210CD - (55.100.AI[01]) - CHASSIS, WIRE HARNESS - COMBI - ASN NGNTP2002 (55) - ELECTRICAL SYSTEMS
55.100.do 01a
35
25
4
6
31
27
7
24
36
9
5
31
6
9
16
23
28
19
40
1
26
17
38
10
28
41
33
37
23
3
32
8
26
42
25
8
39
7
37
35
12
15
18
14
24
30
32
1
21
20
34
11
2
22
19
9
38
31
19
29
29
13
34
4
FIT
1:1
100%

Артикул

Название

Примечание

Количество

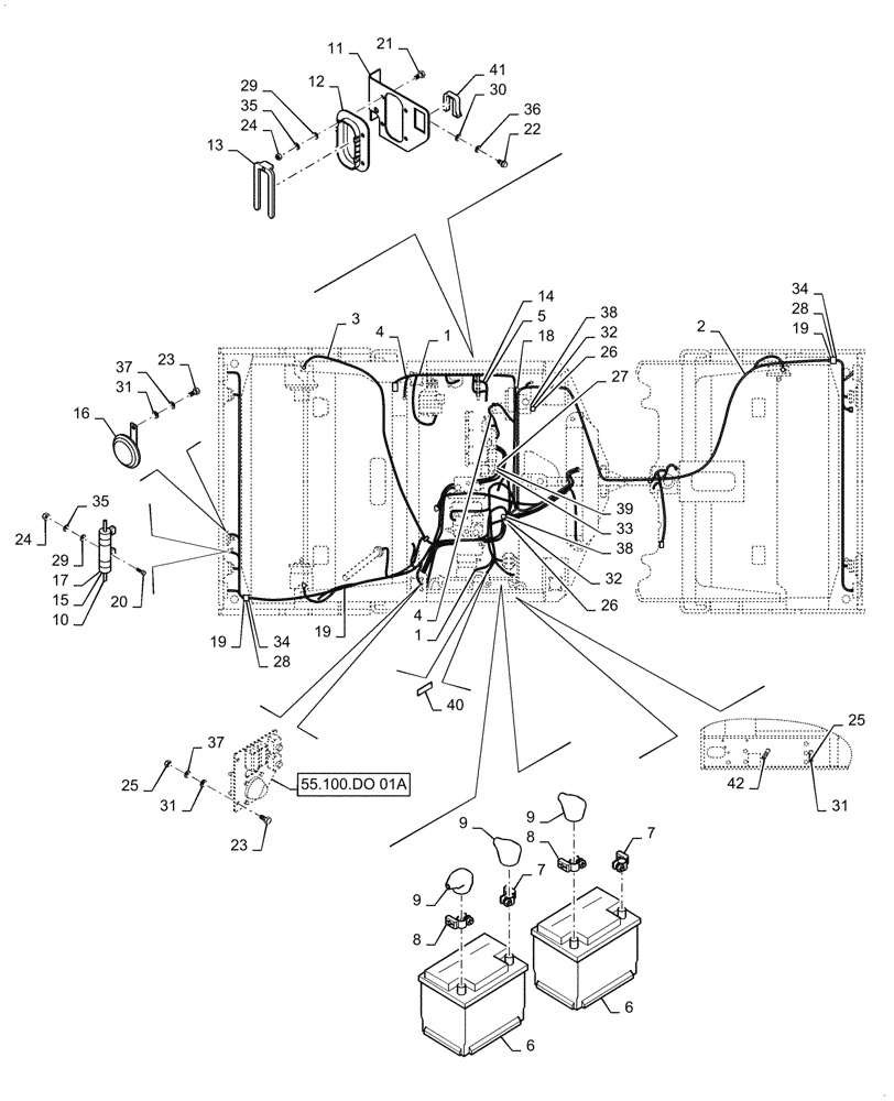
1

48141405

WIRE HARNESS

1шт.

2

48072761

ELECTRIC CABLE

1шт.

3

47925370

WIRE HARNESS

1шт.

4

47925371

WIRE HARNESS

1шт.

5

47925372

WIRE HARNESS

1шт.

6

EL2/47X

BATTERY

USA Only

2шт.

6

EL2/47XC

WET BATTERY

Canada Only

2шт.

7

ND111732

TERMINAL CONNECTOR

Positive

2шт.

8

ND111733

TERMINAL CONNECTOR

Negative

2шт.

9

47842439

COVER

Battery Terminal

3шт.

10

ND143251

BRACKET

1шт.

11

47925381

BRACKET

1шт.

12

47620946

FLANGE

1шт.

13

47620947

ELEC CONNECTOR

1шт.

14

48072762

CAP

1шт.

15

84516050

CLIP

2шт.

16

48143356

HORN

1шт.

17

84516048

ATTENUATOR

1шт.

18

ND123483

CLAMP

1шт.

19

ND023785

BOLT

8шт.

20

ND021285

BOLT

2шт.

21

ND110229

BOLT

8шт.

22

ND021288

BOLT

2шт.

23

ND021293

BOLT

3шт.

24

ND107948

LOCK NUT

10шт.

25

ND027301

NUT

5шт.

26

ND027302

NUT

2шт.

27

ND021850

NUT

1шт.

28

ND029246

WASHER

8шт.

29

ND029247

WASHER

10шт.

30

ND029248

WASHER

2шт.

31

ND029249

WASHER

3шт.

32

ND029250

WASHER

3шт.

33

ND029251

WASHER

2шт.

34

47925395

WASHER

8шт.

35

ND124398

LOCK WASHER

10шт.

36

ND118926

WASHER

2шт.

37

ND035940

SPRING WASHER

3шт.

38

ND035941

WASHER

2шт.

39

ND035942

WASHER

1шт.

40

ND066061

TAPE

Use Where Needed

4шт.

41

47925373

LOCK

1шт.

42

ND141230

CLAMP

3шт.

Выбрано товаров: 43