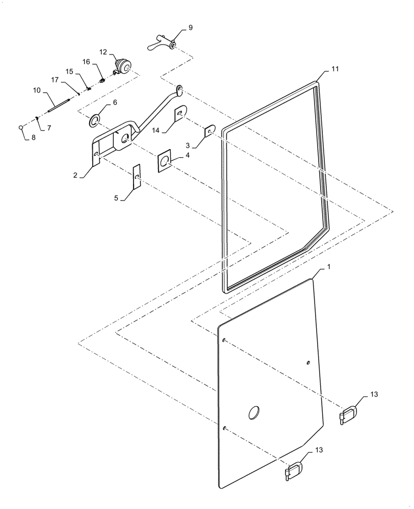
Запчасти Case DV210D (90.154.AA[04]) - LEFT DOOR ASSEMBLY, GLASS (90) - PLATFORM, CAB, BODYWORK AND DECALS

Схема запчастей Case DV210D - (90.154.AA[04]) - LEFT DOOR ASSEMBLY, GLASS (90) - PLATFORM, CAB, BODYWORK AND DECALS
14
8
15
2
6
9
1
12
17
16
3
10
7
4
11
13
5
13
FIT
1:1
100%

Артикул

Название

Примечание

Количество

1

47684909

GLASS

LH Door

1шт.

2

47764146

HANDLE

1шт.

3

47684723

PACKING

1шт.

4

47684724

PACKING

1шт.

5

47684725

PACKING

1шт.

6

47684733

RING

1шт.

7

47684735

GROMMET

1шт.

8

47684736

KNOB

1шт.

9

47684737

HANDLE

1шт.

10

47764141

ROD

1шт.

11

47684744

SEAL, GLASS

1шт.

12

47684747

LOCK

1шт.

13

47684925

HINGE

2шт.

14

47684754

HOLDER

1шт.

15

47764143

CLIP

1шт.

16

47764145

YOKE

1шт.

17

ND021846

NUT

1шт.

Выбрано товаров: 17