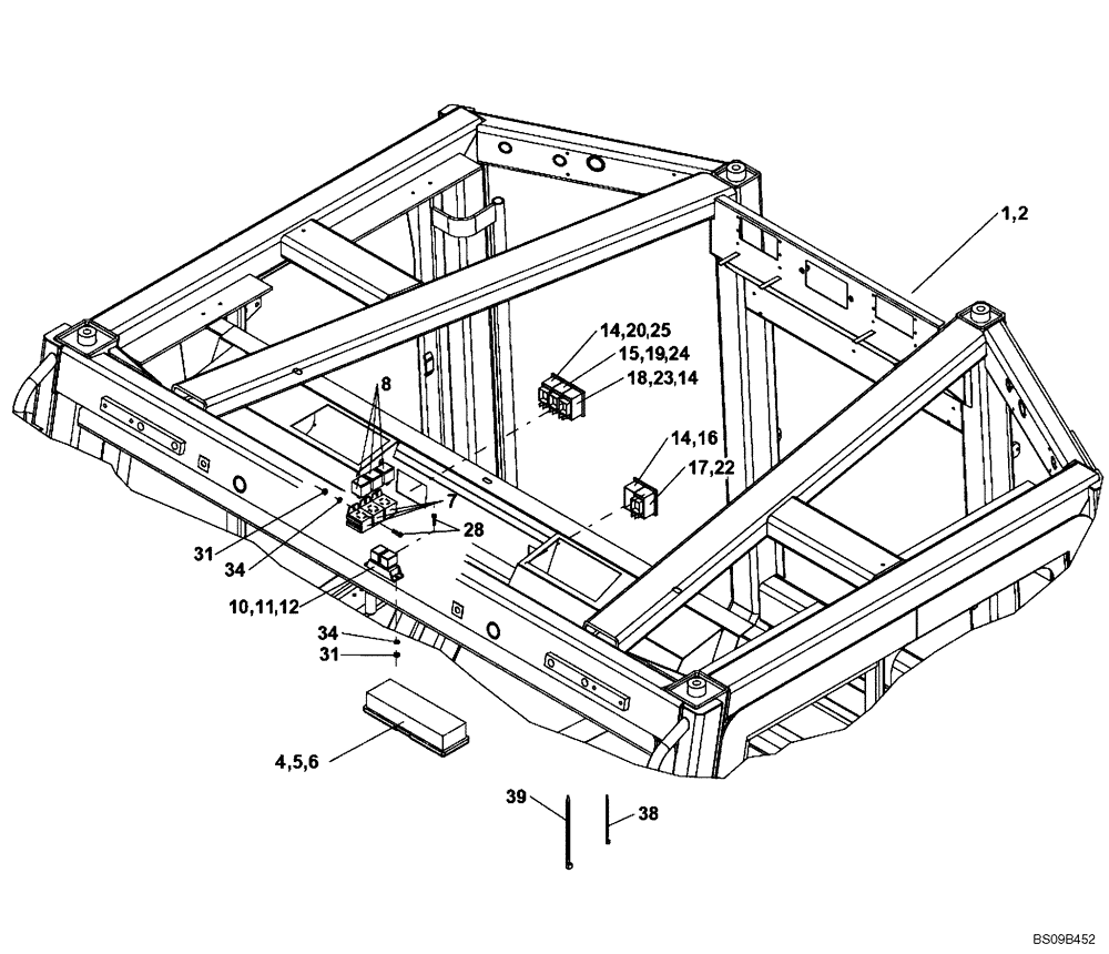
Запчасти Case DV213 (55.510.01) - WIRING -CAB (GROUP 410-ND131527) (55) - ELECTRICAL SYSTEMS

Схема запчастей Case DV213 - (55.510.01) - WIRING -CAB (GROUP 410-ND131527) (55) - ELECTRICAL SYSTEMS
17
25
34
31
8
24
14
10
2
18
38
1
11
23
22
7
5
4
31
28
14
39
20
19
14
16
34
6
15
12
FIT
1:1
100%

Артикул

Название

Примечание

Количество

1

ND131524

HARNESS

HARNESS

1шт.

2

ND131545

HARNESS

HARNESS

1шт.

4

ND125049

INTERIOR LIGHT

LIGHT, INTERIOR

1шт.

5

ND066889

BULB,12V, 10W

12V 21W

1шт.

6

ND066866

BULB,12V, 10W

12V 10W

1шт.

7

ND065143

HOLDER

BASE RELAY

3шт.

8

ND065141

RELAY

2шт.

10

ND125266

FUSE BOX

FUSE BOX

1шт.

11

ND065920

FUSE,5A

5A

1шт.

12

ND065919

FUSE,15A

15A

2шт.

14

ND065309

BEZEL

4шт.

15

ND065310

TERMINAL

1шт.

16

ND065391

COVER

1шт.

17

ND065303

ROCKER SWITCH

1шт.

18

ND065433

SWITCH

SWITCH

1шт.

19

ND130445

ROCKER SWITCH

SWITCH

1шт.

20

ND065432

SWITCH

1шт.

22

ND065317

LENS

1шт.

23

ND065333

LENS

1шт.

24

ND065397

LENS

1шт.

25

ND065406

LENS

1шт.

28

ND024122

BOLT

5шт.

31

ND107948

LOCK NUT

5шт.

34

ND029247

WASHER

5шт.

38

ND078447

CABLE TIE

CABLE STRAP TIE STRAP

30шт.

39

ND078445

SECURING STRAP

TIE STRAP

20шт.

Выбрано товаров: 26