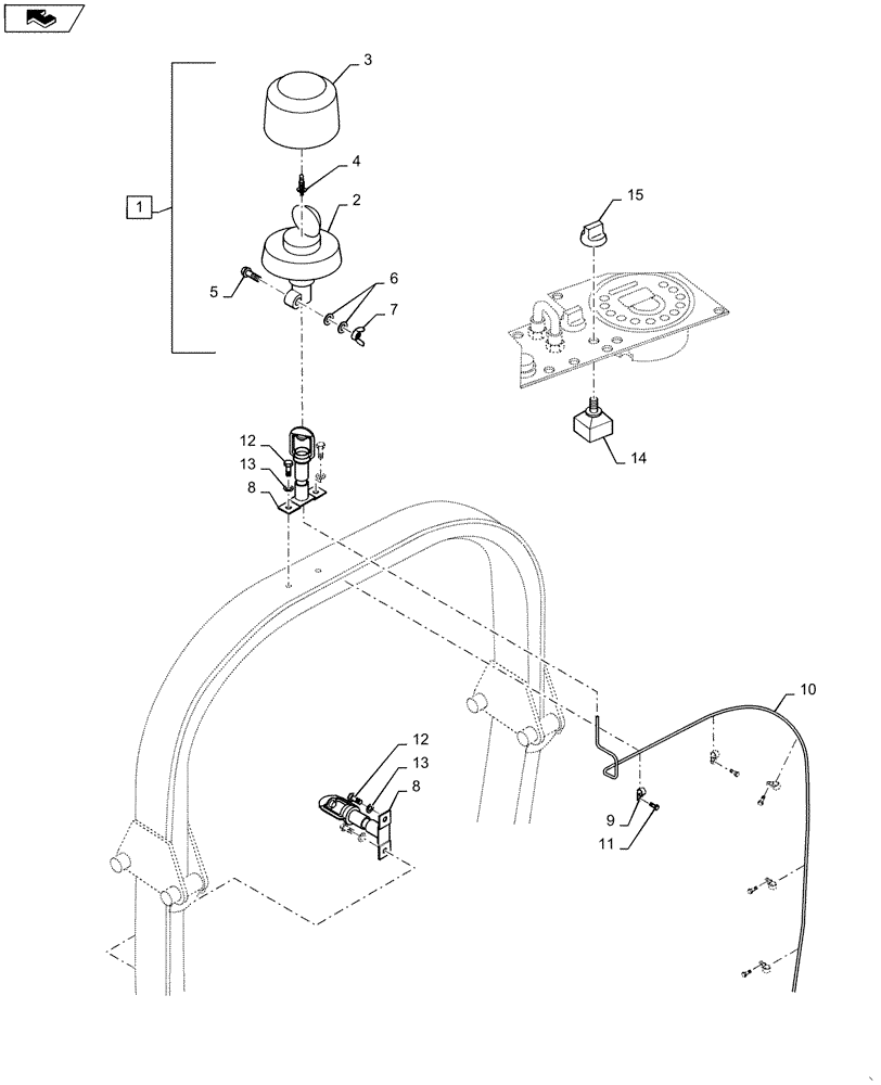
Запчасти Case DV26 (55.404.AC[02]) - ROTATING BEACON (55) - ELECTRICAL SYSTEMS

Схема запчастей Case DV26 - (55.404.AC[02]) - ROTATING BEACON (55) - ELECTRICAL SYSTEMS
13
8
6
13
8
12
2
14
4
9
home
12
3
7
1
5
10
11
15
FIT
1:1
100%

Артикул

Название

Примечание

Количество

1

47409166

KIT

Incl 2 - 7

1шт.

2

47409168

BEACON

1шт.

3

47409169

LENS

1шт.

4

47409172

BULB

1шт.

5

47409174

BOLT

1шт.

6

47381402

WASHER

2шт.

7

47409175

WING NUT

1шт.

8

47409176

HOLDER

2шт.

9

47409152

CLAMP

7шт.

10

47409179

WIRE HARNESS

1шт.

11

47409155

BOLT

7шт.

12

47382209

BOLT

, Years: -11-NOV-13

4шт.

12

47409157

BOLT

, Start Year: 11-NOV-13

4шт.

13

47381200

WASHER

4шт.

14

47387896

ROTARY SWITCH

1шт.

15

47387910

KNOB

1шт.

Выбрано товаров: 16