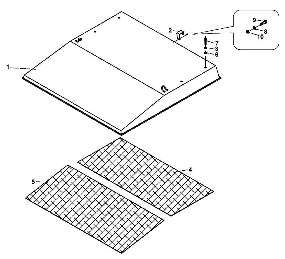
Запчасти Case PT240 (90.118.02[01]) - ROOF - CANOPY (GROUP 571-ND103888) (90) - PLATFORM, CAB, BODYWORK AND DECALS

Схема запчастей Case PT240 - (90.118.02[01]) - ROOF - CANOPY (GROUP 571-ND103888) (90) - PLATFORM, CAB, BODYWORK AND DECALS
7
1
3
5
8
4
6
10
9
2
FIT
1:1
100%

Артикул

Название

Примечание

Количество

1

ND103887

ROPS

Fops Cover

1шт.

2

ND103892

BRACKET

1шт.

3

ND029314

LOCK WASHER

4шт.

4

ND103889

INSULATION

1шт.

5

ND103890

INSULATION

1шт.

6

ND029253

WASHER

4шт.

7

ND021330

BOLT

4шт.

8

ND029248

WASHER

4шт.

9

ND021290

BOLT

4шт.

10

ND027300

NUT

4шт.

Выбрано товаров: 0