Запчасти Case PT240 (10.216.01) - FUEL TANK (GROUP 70-2-ND144814) (10) - ENGINE

Схема запчастей Case PT240 - (10.216.01) - FUEL TANK (GROUP 70-2-ND144814) (10) - ENGINE
4
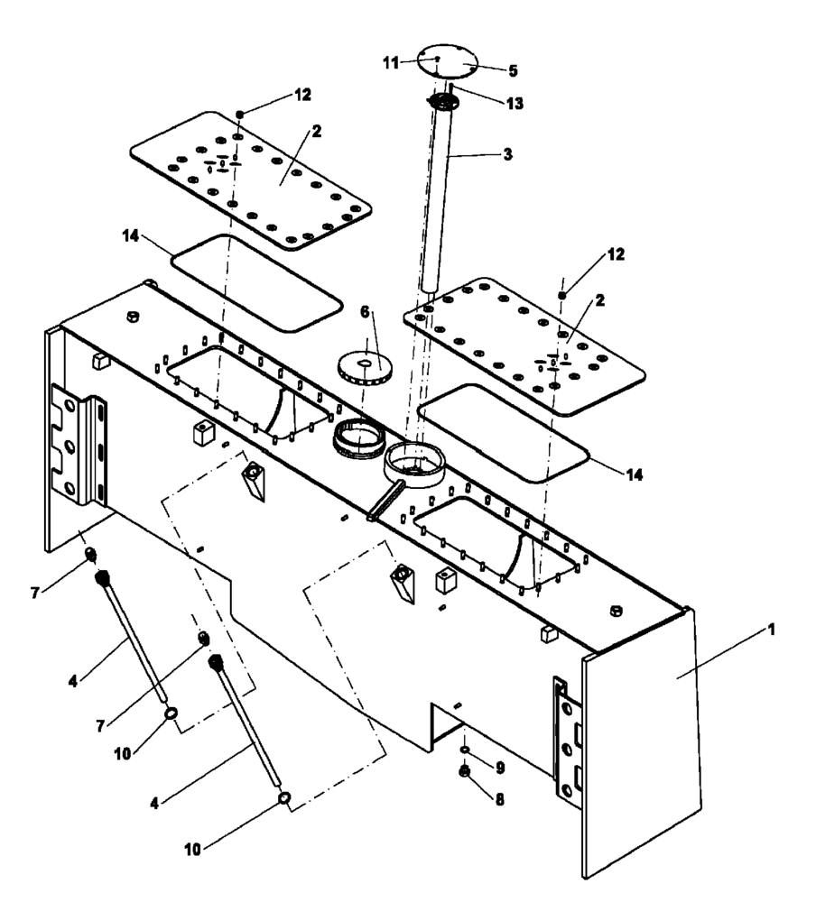
2
10
11
5
12
1
8
3
2
10
7
6
7
14
13
14
1
4
FIT
1:1
100%

Артикул

Название

Примечание

Количество

1

ND144793

FUEL TANK

1шт.

2

ND145284

ACCESS COVER

2шт.

3

ND124572

SENDER UNIT

, Serial Range: -DDDPT240NANTN2000

1шт.

3

ND069432

FLOAT

, Start Serial: DDDPT240NANTN2001

1шт.

4

ND052500

FLEXIBLE HOSE

2шт.

5

ND045514

COVER

1шт.

6

ND090799

FILLER CAP

For Key See 15

1шт.

7

ND062154

HYD CONNECTOR

2шт.

8

ND036184

PLUG

1шт.

9

ND073353

SEAL

1шт.

10

ND073360

PACKING RING

2шт.

11

ND024371

SCREW,M5 x 10mm

4шт.

12

ND027301

NUT

40шт.

13

47915628

BOLT

5шт.

14

ND144906

SEALING STRIP

1шт.

15

47845471

KEY

1шт.

Выбрано товаров: 16