Запчасти Case PT240 (37.140.01) - EXTRA COUNTER WIEGHT-OPTIONAL (GROUP 582 & 583-ND145287) (37) - HITCHES, DRAWBARS & IMPLEMENT COUPLINGS

Схема запчастей Case PT240 - (37.140.01) - EXTRA COUNTER WIEGHT-OPTIONAL (GROUP 582 & 583-ND145287) (37) - HITCHES, DRAWBARS & IMPLEMENT COUPLINGS
4
8
39.100.01 (01)
5
39.100.01 (01)
5
3
3
10
2
6
7
4
2
3
2
9
3
5
7
3
7
3
7
4
7
4
5
1
3
9
2
39.100.01 (02)
7
39.100.01 (02)
5
6
2
2
10
8
5
2
4
6
4
4
5
6
5
2
5
6
7
3
4
6
6
7
1
FIT
1:1
100%

Артикул

Название

Примечание

Количество

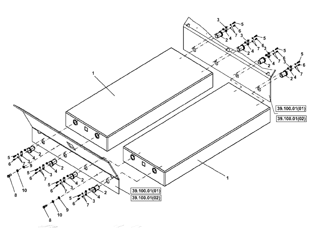
1

ND144778

BALLAST

Combined Weight 1,400, Kg

2шт.

1

ND148360

BALLAST

Combined Weight 3,000, Kg

2шт.

2

ND108676

PIN

8шт.

3

ND108677

LOCKING BAR

8шт.

4

ND108678

SPACER

8шт.

5

ND021312

BOLT

8шт.

6

ND021309

BOLT,M12 x 25

8шт.

7

ND035942

WASHER

16шт.

8

ND092868

BOLT

2шт.

9

ND029255

WASHER

2шт.

10

ND026467

NUT

2шт.

Выбрано товаров: 0