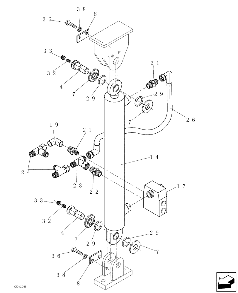
Запчасти Case SV216 (10-008-00[01]) - HYDRAULIC CIRCUIT - ENGINE HOOD OPENING CYLINDER - LEFT - IF USED (08) - HYDRAULICS

Схема запчастей Case SV216 - (10-008-00[01]) - HYDRAULIC CIRCUIT - ENGINE HOOD OPENING CYLINDER - LEFT - IF USED (08) - HYDRAULICS
21
23
33
17
19
7
36
29
4
33
29
21
29
38
4
24
38
29
36
7
7
14
32
26
8
8
32
7
22
FIT
1:1
100%

Артикул

Название

Примечание

Количество

HYDROMOTOR (ND103131)

1шт.

4

ND049262

PIN

2шт.

7

ND049260

INSERT

4шт.

8

ND049268

COVER PLATE

PACKING PIECE

2шт.

9

ND120348

PIPE

1шт.

14

ND068121

CYLINDER

HYDROMOTOR

1шт.

17

ND067918

VALVE

HYDRAULIC LOCK

1шт.

19

ND062414

ELBOW

L COUPLING

1шт.

21

ND062200

HYD CONNECTOR

PIPE

2шт.

22

ND062221

HYD CONNECTOR

PIPE

1шт.

23

ND062326

HYD CONNECTOR

T COUPLING

1шт.

24

ND062313

HYD CONNECTOR

T COUPLING

2шт.

26

ND062038

SEAL

PACKING RING

2шт.

27

ND062045

NUT

CAP NUT

2шт.

29

ND079727

O-RING

RING

4шт.

32

ND070133

LUBE NIPPLE,M10 x 1

GREASE

2шт.

33

ND064758

PLUG

CAP

2шт.

36

ND021292

BOLT

M8 x 12 BOLT

4шт.

38

ND035940

SPRING WASHER

ID 8 SPRING

4шт.

Выбрано товаров: 19