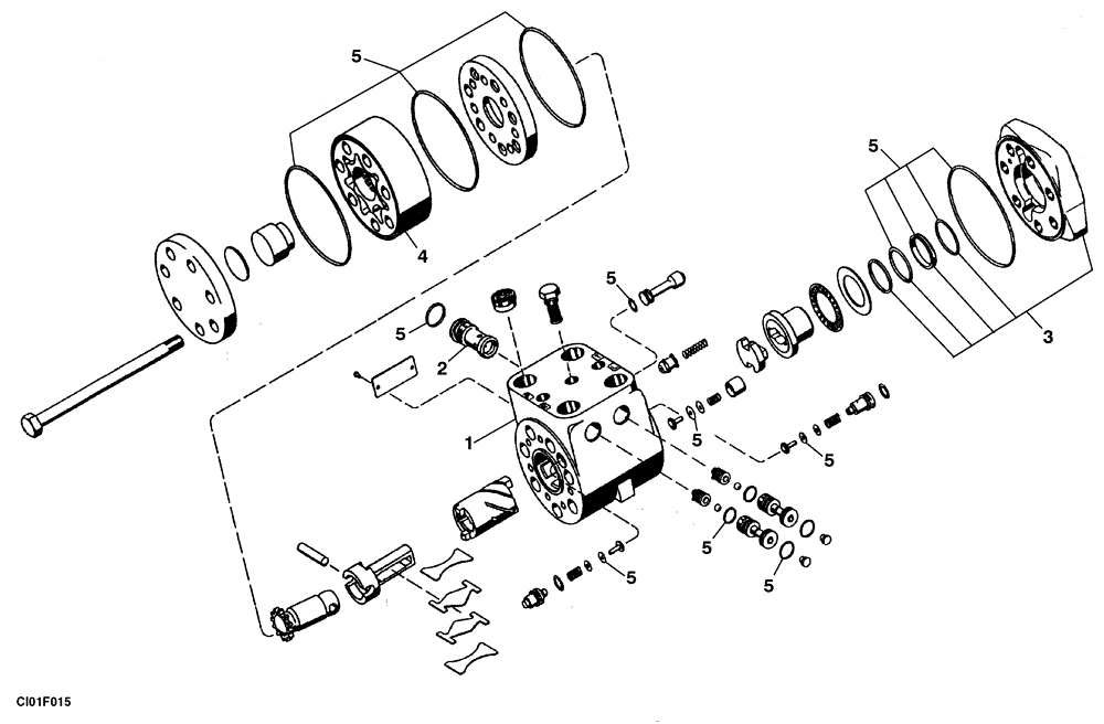
Запчасти Case SV216 (06-003-00[01]) - STEERING - CONTROL VALVE - IF USED - (GROUP 336-15) (ND090923) (05) - STEERING

Схема запчастей Case SV216 - (06-003-00[01]) - STEERING - CONTROL VALVE - IF USED - (GROUP 336-15) (ND090923) (05) - STEERING
5
5
5
3
5
2
5
5
1
4
5
5
5
FIT
1:1
100%

Артикул

Название

Примечание

Количество

HYDRAULIC SERVOSTEERING (ND090923) (GROUP 336-15)

1шт.

1

ND105622

BOX

1шт.

2

ND105624

CONTROL VALVE

1шт.

3

ND105620

FLANGE

1шт.

4

ND105621

ROTOR

1шт.

5

ND105623

SEAL KIT

1шт.

Выбрано товаров: 0