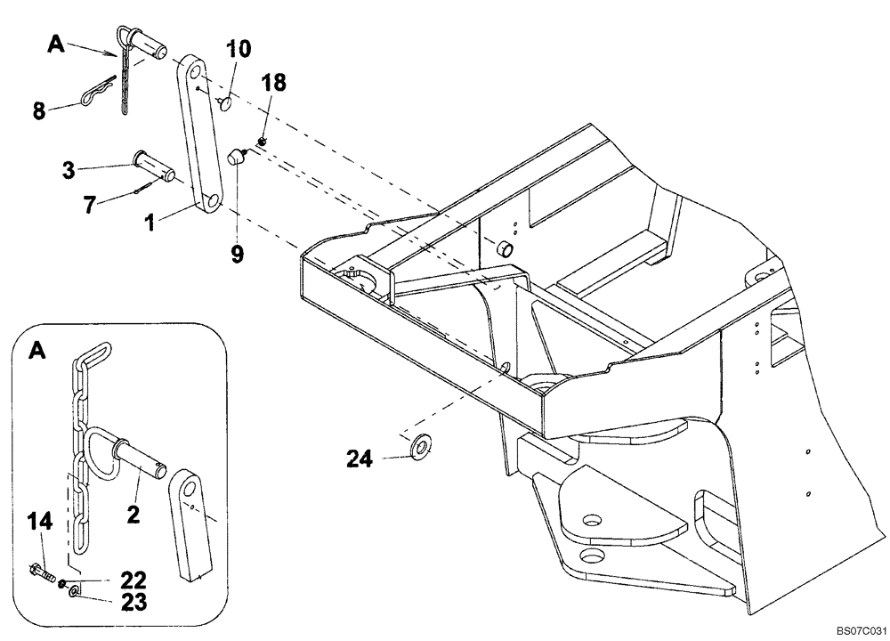
Запчасти Case SV216 (12-001-00[08]) - CHASSIS - ARTICULATED JOINT LOCK (GROUP 487) (ND126691) (09) - CHASSIS/ATTACHMENTS

Схема запчастей Case SV216 - (12-001-00[08]) - CHASSIS - ARTICULATED JOINT LOCK (GROUP 487) (ND126691) (09) - CHASSIS/ATTACHMENTS
23
3
22
24
1
14
8
9
7
10
2
18
FIT
1:1
100%

Артикул

Название

Примечание

Количество

JOINT LOCK (ND126691) (Group 487)

1шт.

1

ND030796

TIE-ROD

1шт.

2

ND126760

PIN

1шт.

3

ND126759

TOWBAR PIN

1шт.

7

ND029396

COTTER PIN

1шт.

8

ND118345

ROLL PIN

1шт.

9

ND079083

RUBBER BUMPER

1шт.

10

ND108312

PLUG

1шт.

14

ND110229

BOLT

1шт.

18

ND021848

NUT

1шт.

22

ND029308

WASHER

SPRING

1шт.

23

ND029247

WASHER

1шт.

24

ND124289

WASHER

1шт.

Выбрано товаров: 13