Запчасти Case SV216 (39.000.00) - CHASSIS ATTACHMENTS - PICTORIAL (39) - FRAMES AND BALLASTING

Схема запчастей Case SV216 - (39.000.00) - CHASSIS ATTACHMENTS - PICTORIAL (39) - FRAMES AND BALLASTING
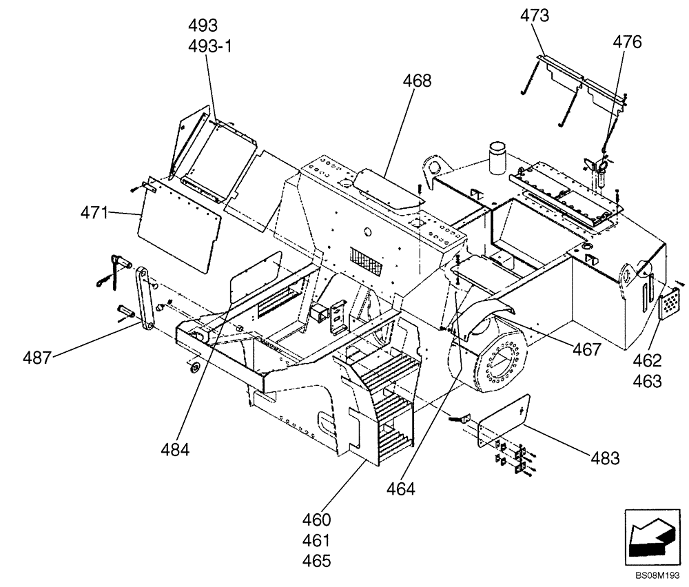
468
493
467
476
473
483
463
462
461
460
464
484
487
471
493-1
465
FIT
1:1
100%

Артикул

Название

Примечание

Количество

REF

INSTRUCTION

CHASSIS ATTACHMENTS - SECTIONAL PICTORIAL

1шт.

REF

INSTRUCTION

Frame, Rear - ND130967 - See Figure 12-001-00 (01)

1шт.

460

REF

INSTRUCTION

Steps, Platform Access LH - ND126673 - See Figure 12-001-00 (18)

1шт.

461

REF

INSTRUCTION

Steps, Platform Access RH - ND126674 - See Figure 12-001-00 (19)

1шт.

462

REF

INSTRUCTION

Step RH - ND126689 - See Figure 12-001-00 (17)

1шт.

463

REF

INSTRUCTION

Step LH - ND126688 See Figure 12-001-00 (16)

1шт.

464

REF

INSTRUCTION

Step Upper LH - ND126699 - See Figure 12-001-00 (15)

1шт.

465

REF

INSTRUCTION

Steps, Platform Access RH - ND134853 - For SV212 Tier 3 Only

1шт.

467

REF

INSTRUCTION

Cover, Rear Drive Motor - ND126700 - See Figure 12-001-00 (21)

1шт.

468

REF

INSTRUCTION

Cover, Hydraulic Tank - ND126701 - See Figure 12-001-00 (04)

1шт.

471

REF

INSTRUCTION

Cover, Hydraulic Pump - ND126676 - See Figure 12-001-00 (07)

1шт.

473

REF

INSTRUCTION

Battery Hold Down - ND126702 - See Figure 12-001-00 (03)

1шт.

476

REF

INSTRUCTION

Drawbar, Rear - ND126755 - See Figure 12-001-00 (02)

1шт.

483

REF

INSTRUCTION

Door, Access LH - ND126706 - See Figure 12-001-00 (12)

1шт.

484

REF

INSTRUCTION

Door, Access RH - ND126791 - See Figure 12-001-00 (09)

1шт.

487

REF

INSTRUCTION

Lock, Articulated Joint - ND126691 - See Figure 12-001-00 (08)

1шт.

493

REF

INSTRUCTION

Tool Box - ND126696 - See Figure 12-001-00 (05)

1шт.

493-1

REF

INSTRUCTION

Door, Tool Box - ND126732 - See Figure 12-001-00 (06)

1шт.

Выбрано товаров: 0