Запчасти Case SV216 (39.100.19) - ARTICULATION JOINT (GROUP 63) (ND133246) (39) - FRAMES AND BALLASTING

Схема запчастей Case SV216 - (39.100.19) - ARTICULATION JOINT (GROUP 63) (ND133246) (39) - FRAMES AND BALLASTING
34
26
24
17
34
59
59
44
11
14
46
59
40
53
44
38
46
46
59
35
17
3
13
10
37
26
12
23
54
10
41
26
55
48
2
46
25
34
36
34
46
12
46
55
11
24
13
FIT
1:1
100%

Артикул

Название

Примечание

Количество

REF

INSTRUCTION

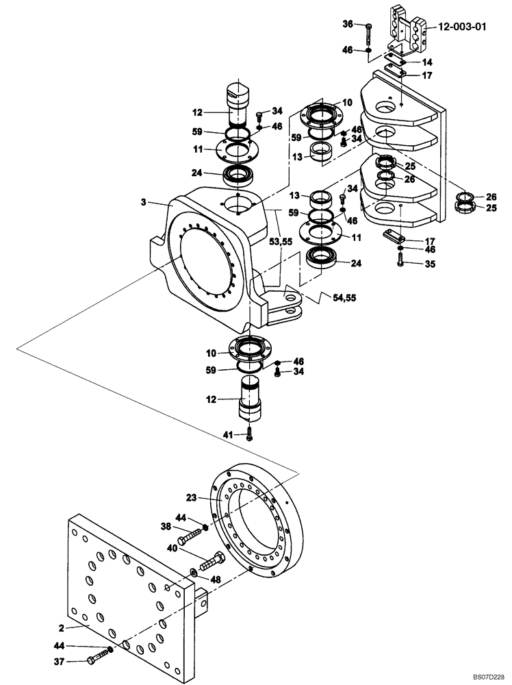
ARTICULATION JOINT (ND133246) (GROUP 63)

1шт.

2

ND133245

LARGE PLATE

PLATE, LARGE Frame

1шт.

3

ND133244

HUB

Hub II

1шт.

10

ND030604

FLANGE

Lower Cover

2шт.

11

ND128420

COVER

Top

2шт.

12

ND126754

PIN

2шт.

13

ND052237

BUSHING

2шт.

14

ND128429

WASHER

1шт.

17

ND052231

COVER PLATE

2шт.

23

ND124214

BEARING

, Serial Range: -NFNTD3511

1шт.

23

47937498

SPH ROLLER BEARING

, Start Serial: NFNTD3512

1шт.

24

ND068998

BALL BEARING

2шт.

25

ND069116

NUT

2шт.

34

ND021309

BOLT,M12 x 25

M12 x 25

24шт.

35

ND021310

BOLT

M12 x 30

2шт.

36

ND021312

BOLT

M12 x 40

2шт.

37

ND124217

BOLT

M14 x 90

23шт.

38

ND132700

BOLT

24шт.

40

ND021264

BOLT

M24 x 90

8шт.

41

ND021342

BOLT

M20 x 40

1шт.

44

ND029268

WASHER

47шт.

46

ND035942

WASHER

28шт.

48

ND035946

SPRING WASHER

ID 17

8шт.

53

ND070130

LUBE NIPPLE

2шт.

54

ND070133

LUBE NIPPLE,M10 x 1

6шт.

55

ND064758

PLUG

8шт.

59

ND079313

RING

90 x 98

4шт.

Выбрано товаров: 27