Запчасти Case SV216 (35.353.13[02]) - VALVE INSTALLATION (P.I.N. DDD001215 AND AFTER) (GROUP 319) (ND142124) (35) - HYDRAULIC SYSTEMS

Схема запчастей Case SV216 - (35.353.13[02]) - VALVE INSTALLATION (P.I.N. DDD001215 AND AFTER) (GROUP 319) (ND142124) (35) - HYDRAULIC SYSTEMS
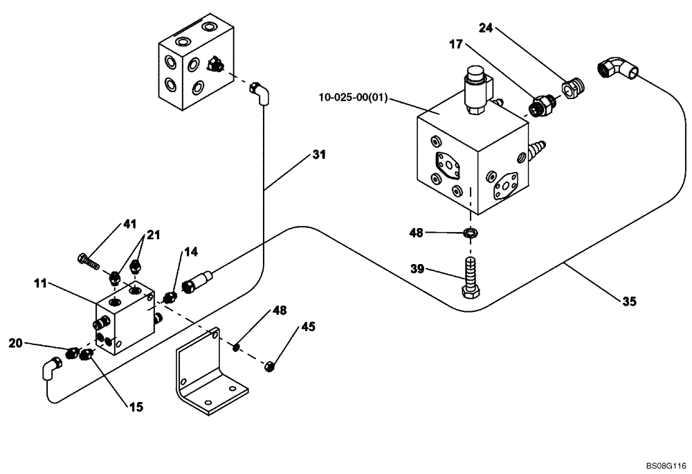
14
21
17
45
11
48
24
10-025-00(01)
35
41
15
31
20
39
48
FIT
1:1
100%

Артикул

Название

Примечание

Количество

REF

INSTRUCTION

VALVE INSTALLATION (ND142124) (GROUP 319)

1шт.

11

ND137828

VALVE

, Serial Range: -NENTD3368

1шт.

11

47717679

SOLENOID VALVE

, Start Serial: NENTD3369

1шт.

14

ND062220

HYD CONNECTOR

1шт.

15

ND062158

HYD CONNECTOR

1шт.

17

ND136615

HYD CONNECTOR

1шт.

20

ND062173

HYD CONNECTOR

1шт.

21

ND138461

HYD CONNECTOR

2шт.

24

ND062487

REDUCER FITTING

1шт.

31

ND139998

HOSE

1шт.

35

ND139997

HOSE

1шт.

39

ND021301

BOLT

4шт.

41

ND021204

BOLT

2шт.

45

ND021849

NUT

2шт.

48

ND035941

WASHER

6шт.

Выбрано товаров: 15