Запчасти Case SV216 (35.700.01[02]) - PUMP, HYDRAULIC (P.I.N. DDD001213 TO P.I.N. DDD001215) (GROUP 124) (ND134454) (35) - HYDRAULIC SYSTEMS

Схема запчастей Case SV216 - (35.700.01[02]) - PUMP, HYDRAULIC (P.I.N. DDD001213 TO P.I.N. DDD001215) (GROUP 124) (ND134454) (35) - HYDRAULIC SYSTEMS
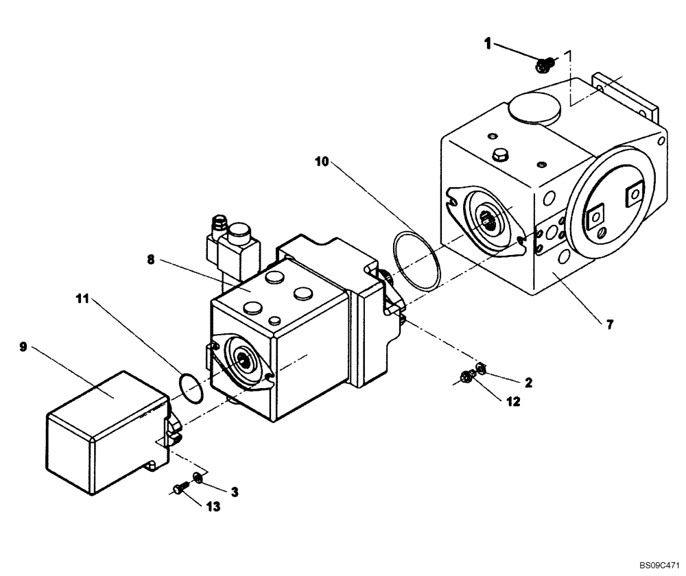
8
2
10
13
12
11
3
1
9
7
FIT
1:1
100%

Артикул

Название

Примечание

Количество

REF

INSTRUCTION

PUMP, HYDRAULIC (ND134454) (GROUP 124)

1шт.

1

ND118093

BOLT

4шт.

2

ND049809

WASHER

2шт.

3

ND029267

WASHER

2шт.

7

ND090928

HYDRAULIC PUMP

1шт.

8

ND134415

PUMP

1шт.

9

ND126095

PUMP

1шт.

10

ND144150

O-RING

O-RING

1шт.

11

ND144149

O-RING

O-RING

1шт.

12

ND034055

BOLT

2шт.

13

ND034056

BOLT

2шт.

Выбрано товаров: 11