Запчасти Case SR15 (12-021-00[01]) - ROPS FRAME - IF USED (09) - CHASSIS/ATTACHMENTS

Схема запчастей Case SR15 - (12-021-00[01]) - ROPS FRAME - IF USED (09) - CHASSIS/ATTACHMENTS
6
8
9
1
7
5
FIT
1:1
100%

Артикул

Название

Примечание

Количество

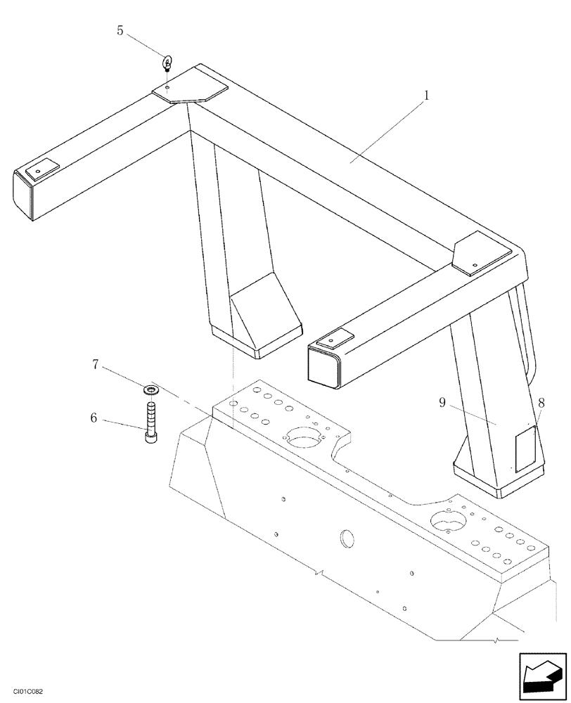
1

ND011776

FRAME

1шт.

5

ND026171

LIFTING EYE

M12

2шт.

6

ND024304

BOLT

M24 x 80

16шт.

7

ND090753

WASHER

ID 24

16шт.

8

NSS

NOT SOLD SEPARAT

1шт.

9

NSS

NOT SOLD SEPARAT

4шт.

Выбрано товаров: 6