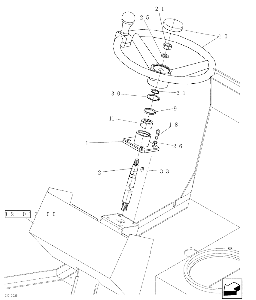
Запчасти Case SR15 (06-001-00[01]) - STEERING WHEEL AND FIXED STEERING COLUMN - IF USED (05) - STEERING

Схема запчастей Case SR15 - (06-001-00[01]) - STEERING WHEEL AND FIXED STEERING COLUMN - IF USED (05) - STEERING
12-013-00
26
33
1
31
2
30
21
9
1
1
18
25
10
FIT
1:1
100%

Артикул

Название

Примечание

Количество

1

ND053430

FLANGE

1шт.

2

ND031620

SHAFT

1шт.

9

ND052452

RING

1шт.

10

ND090031

STEERING WHEEL

1шт.

11

ND068765

ROLLER BEARING

1шт.

18

ND024256

BOLT

M10 x 16

4шт.

21

ND026472

NUT

M16 x 1,5

1шт.

25

ND029253

WASHER

ID 17

1шт.

26

ND029311

WASHER

ID 10,2

4шт.

30

ND069879

SNAP RING

1шт.

31

ND069826

SNAP RING

1шт.

33

ND026283

KEY

1шт.

Выбрано товаров: 12