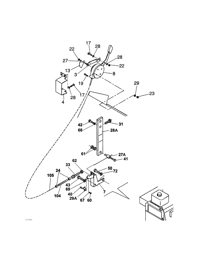
Запчасти Case SR20 (03-002-00[01]) - ACCELERATION MOTEUR (02) - FUEL SYSTEM

Схема запчастей Case SR20 - (03-002-00[01]) - ACCELERATION MOTEUR (02) - FUEL SYSTEM
62
68
19
17
27
33
24
105
28
61
40
29a
41
72
13
4
29
28
31
104
22
23
69
17
50
28a
28
7
42
27a
22
60
67
43
8
3
FIT
1:1
100%

Артикул

Название

Примечание

Количество

3

ND052690

SUPPORT

1шт.

4

ND031144

COVER

1шт.

7

ND017786

SUPPORT

1шт.

8

ND050785

LEVER

1шт.

13

ND050565

PLATE

1шт.

17

ND023791

BOLT

3шт.

19

ND024381

SCREW

4шт.

22

ND021846

NUT

2шт.

23

ND027300

NUT

4шт.

24

ND054267

SLEEVE

2шт.

27

ND029308

WASHER

1шт.

27a

ND050648

PIVOT

1шт.

28

ND029247

WASHER

4шт.

28a

ND029881

LEVER

1шт.

29

ND029248

WASHER

4шт.

29a

ND098399

CLAMP

1шт.

31

ND053025

STOP

1шт.

33

ND050635

SCREW

1шт.

40

ND023784

BOLT

1шт.

41

ND023789

SCREW

1шт.

42

ND021286

BOLT

2шт.

43

ND021293

BOLT

5шт.

50

ND021309

BOLT,M12 x 25

18шт.

60

ND026413

NUT

1шт.

61

ND021847

NUT

2шт.

62

ND021848

NUT

2шт.

68

ND029306

WASHER

1шт.

69

ND029309

SPRING WASHER

2шт.

72

ND035942

WASHER

1шт.

104

ND099886

CABLE SHEATH

1шт.

105

ND099887

CABLE

1шт.

Выбрано товаров: 31