Запчасти Case SR20 (04-006-00[01]) - ELECTRICAL CIRCUIT (06) - ELECTRICAL SYSTEMS

Схема запчастей Case SR20 - (04-006-00[01]) - ELECTRICAL CIRCUIT (06) - ELECTRICAL SYSTEMS
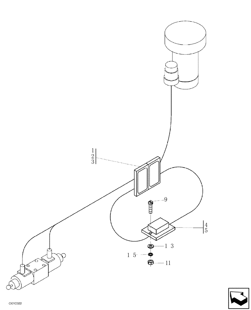
5
1
1
13
9
1
3
2
15
4
FIT
1:1
100%

Артикул

Название

Примечание

Количество

1

ND065420

SWITCH

2шт.

2

ND065354

LENS

2шт.

3

ND065309

BEZEL

2шт.

4

ND065914

FUSE,24V, 10W

1шт.

5

ND065913

FUSE,50A

50 Amp

1шт.

9

ND024112

BOLT

M4X16

2шт.

11

ND026413

NUT

M4

2шт.

13

ND029246

WASHER

ID 4,3

2шт.

15

ND029306

WASHER

ID 4,1

2шт.

Выбрано товаров: 9