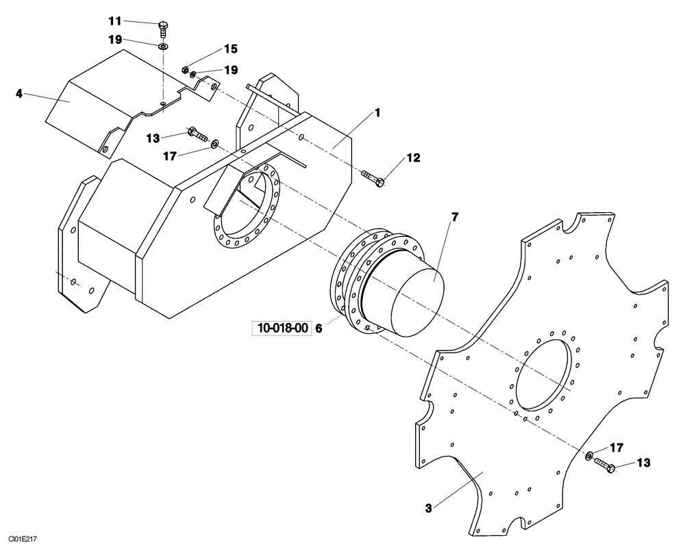
Запчасти Case SV208 (07-001-00[01]) - TRANSMISSION - DRUM (06) - POWER TRAIN

Схема запчастей Case SV208 - (07-001-00[01]) - TRANSMISSION - DRUM (06) - POWER TRAIN
17
11
7
1
13
17
13
12
3
15
10-018-00
19
19
4
FIT
1:1
100%

Артикул

Название

Примечание

Количество

1

ND104286

SUPPORT

1шт.

3

ND104287

PLATE

1шт.

4

ND104414

COVER

1шт.

6

ND090942

HYDRAULIC MOTOR

1шт.

7

ND101766

REDUCER

1шт.

11

ND021308

BOLT

M16 x 20

1шт.

12

ND021312

BOLT

M12 x 40

2шт.

13

ND021332

BOLT

M20 x 45

36шт.

15

ND021850

NUT

M12

2шт.

17

ND035943

WASHER

ID 16

36шт.

19

ND035942

WASHER

ID 12

3шт.

Выбрано товаров: 11